EasyManua.ls Logo

SAME SILVER 100.6 - Adjusting Front Wheel-Drive Controls for Models Without SBA System

Default Icon
470 pages
Print Icon
To Next Page IconTo Next Page
To Next Page IconTo Next Page
To Previous Page IconTo Previous Page
To Previous Page IconTo Previous Page
Loading...
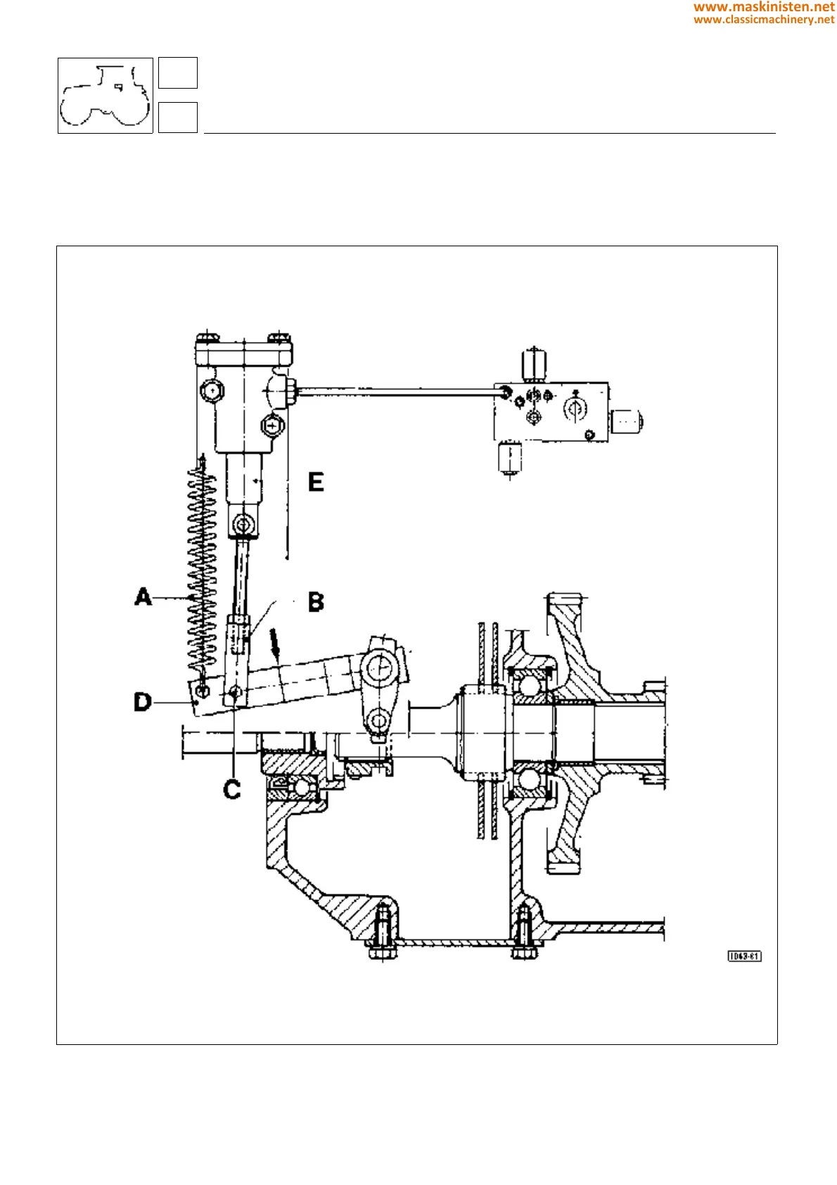
Adjustment of four wheel drive control linkage for machines not equipped with SBA
SYSTEM
Disconnect the four wheel drive engagement spring A and adjust the yoke B in such a way that the pivot C can be
inserted with the lever D forced in the direction indicated by the arrow and with the piston E drawn downwards.
Fig. 16 - Four wheel drive engage/disengage controls for machines not equipped with SBA system.
controls
electro-hydraulic controls
68
6
328
www.maskinisten.net
www.classicmachinery.net

Table of Contents

Related product manuals