EasyManua.ls Logo

SAME SILVER 100.6 - Page 211

Default Icon
470 pages
Print Icon
To Next Page IconTo Next Page
To Next Page IconTo Next Page
To Previous Page IconTo Previous Page
To Previous Page IconTo Previous Page
Loading...
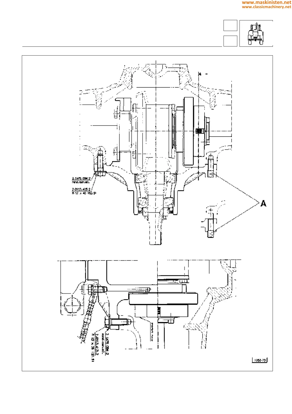
Fig. 5 - Hydraulically operated differential unit on machine with SBA system.
drive axles - axles
4-W.D. front axle
43
4
211
www.maskinisten.net
www.classicmachinery.net

Table of Contents

Related product manuals