EasyManua.ls Logo

SAME SILVER 100.6 - Page 289

Default Icon
470 pages
Print Icon
To Next Page IconTo Next Page
To Next Page IconTo Next Page
To Previous Page IconTo Previous Page
To Previous Page IconTo Previous Page
Loading...
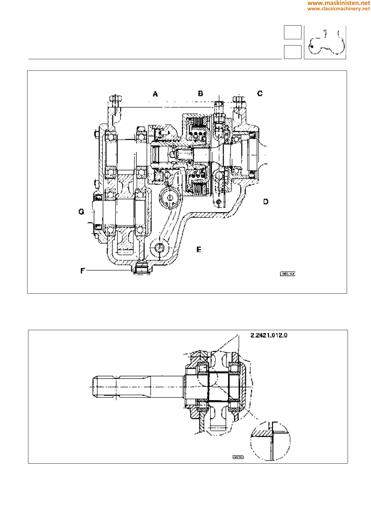
Fig. 7 - Cross-section of the front P.T.O. assembly.
Fig. 8 - Top view of front P.TO.
Correct fitment of front P.T.O. shaft bearing
Locate the bearing 2.2421.012.0 with the shoulder directed toward the gear as indicated in fig 8.
Apply some LOCTITE 510 (red) on the screw threads.
A - Brake disc
B - Clutch discs
C - Oil pump
D - Input shaft
E - Strainer
F - Oil drain plug
G - P.T.O. shaft
59
5
vehicle
front power take-off
289
www.maskinisten.net
www.classicmachinery.net

Table of Contents

Related product manuals