EasyManua.ls Logo

SAME SILVER 100.6 - Page 383

Default Icon
470 pages
Print Icon
To Next Page IconTo Next Page
To Next Page IconTo Next Page
To Previous Page IconTo Previous Page
To Previous Page IconTo Previous Page
Loading...
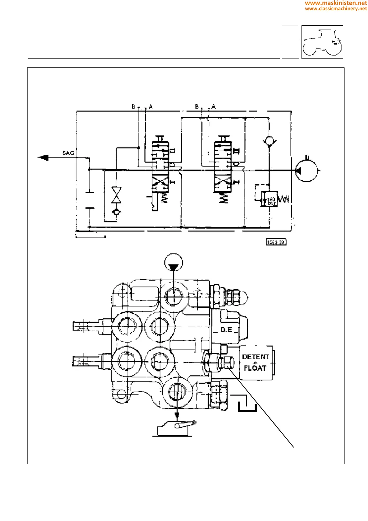
Fig. 6 - 4-way auxiliary hydraulic spool valve.
spool valve single/double acting conversion screw
pressure relief valve
to
88
8
systems
auxiliary systems
383
www.maskinisten.net
www.classicmachinery.net

Table of Contents

Related product manuals