EasyManua.ls Logo

Sharp FO-P610 - Setting the Reception Mode

Sharp FO-P610
87 pages
Print Icon
To Next Page IconTo Next Page
To Next Page IconTo Next Page
To Previous Page IconTo Previous Page
To Previous Page IconTo Previous Page
Loading...
Setting the Reception Mode
23
1. Installation
Setting the Reception Mode
Your fax has four modes for receiving incoming faxes:
FAX mode:
Select this mode when you only want to receive faxes on your line. The fax
machine will automatically answer all calls and receive incoming faxes.
TEL mode:
This mode is the most convenient for receiving phone calls. Faxes can also be
received; however, all calls must first be answered by picking up the fax's
handset or an extension phone connected to the same line.
TEL/FAX mode:
This mode is convenient for receiving both faxes and voice calls. When a call
comes in, the fax will detect whether it is a voice call (including manually
dialled faxes), or an automatically dialled fax. If it is a voice call, the fax will
make a special ringing sound to alert you to answer. If it is an automatically
dialled fax, reception will begin automatically.
A.M. mode:
Use this mode only if you have connected an answering machine to the fax
(see Chapter 5). Select this mode when you go out to receive voice messages
in your answering machine and faxes on your fax machine.
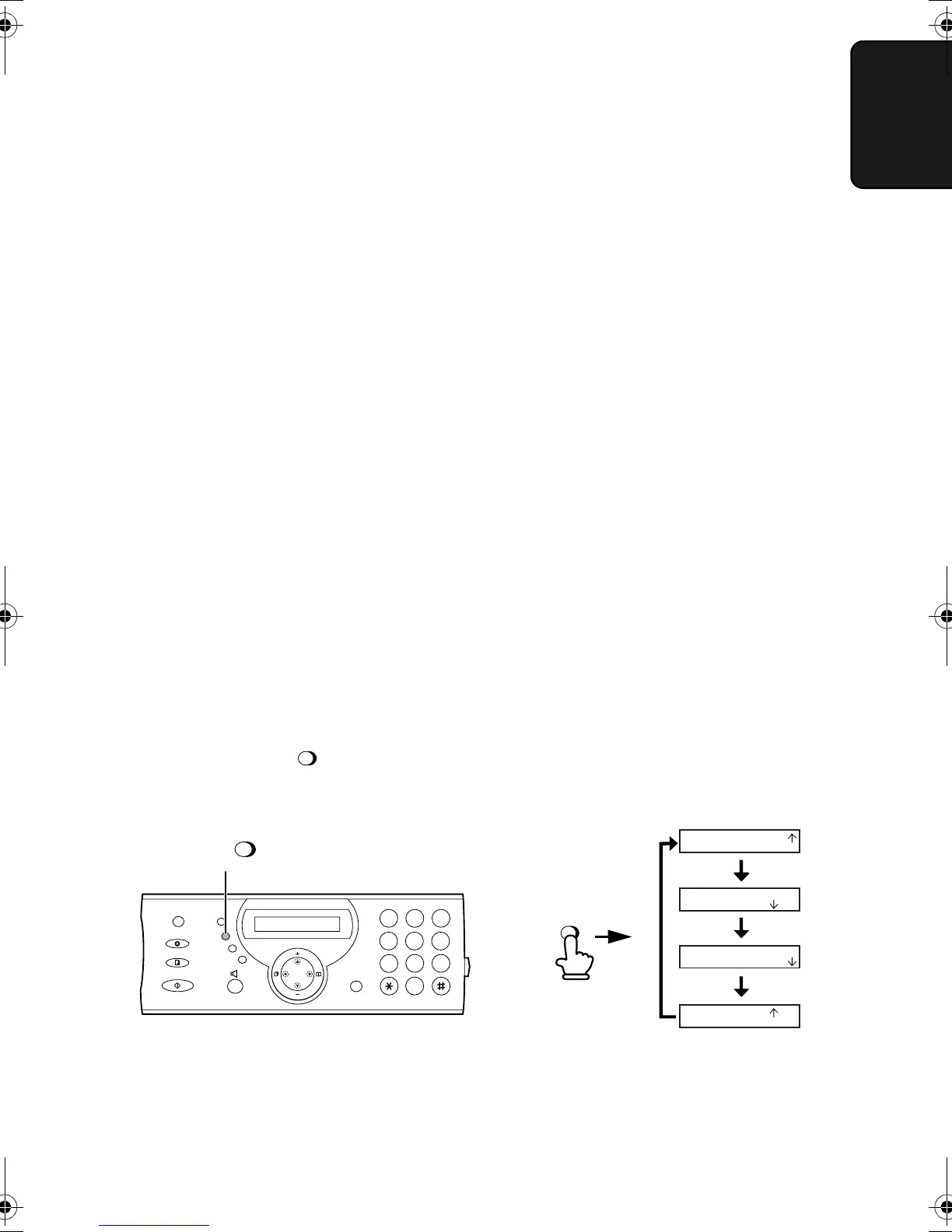
Setting the reception mode
Press until the arrow in the display points to the desired mode.
R
ECEPTION
MODE
R
ECEPTION
MODE
1
9
4
5 6
7
8
0
2 3
ECEPTION
MODE
For more information on receiving faxes in FAX, TEL, and TEL/FAX modes,
see Chapter 3, Receiving Faxes (page 41). For more information on using
A.M. mode, see Chapter 5.
FA
X
TEL
A.M
.
TEL/FAX
01-JAN 10:30
FA
X
TEL
A.M
.
TEL/FAX
01-JAN 10:30
A.M
.
TEL/FAX
FA
X
TEL
01-JAN 10:30
A.M
.
TEL/FAX
FA
X
TEL
01-JAN 10:30
all.book Page 23 Monday, September 29, 2003 4:57 PM

Table of Contents

Other manuals for Sharp FO-P610

Related product manuals