EasyManua.ls Logo

Sharp FO-P610 - A Look at the Operation Panel; Control Panel Buttons

Sharp FO-P610
87 pages
Print Icon
To Next Page IconTo Next Page
To Next Page IconTo Next Page
To Previous Page IconTo Previous Page
To Previous Page IconTo Previous Page
Loading...
7
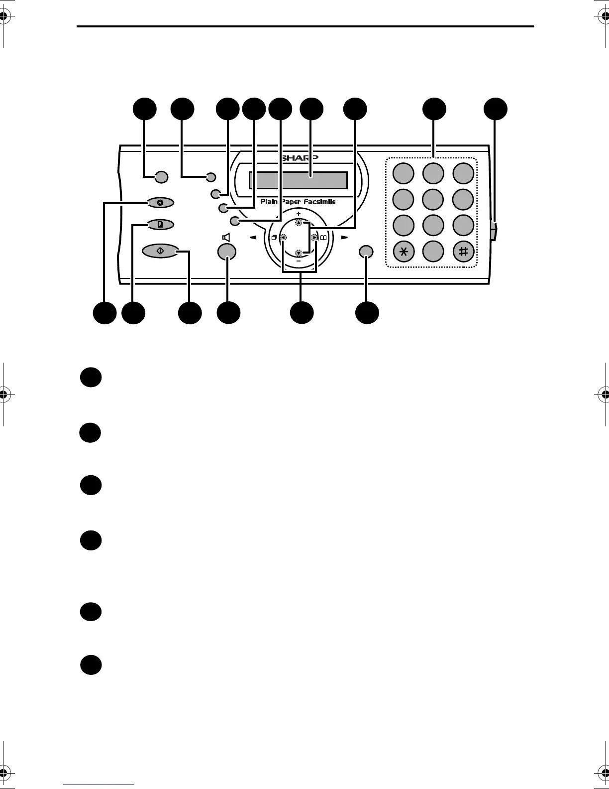
HELP key
Press this key to print out the Help List, a quick reference guide to the
operation of your fax machine.
RESOLUTION key
When a document is in the feeder, press this key to adjust the resolution for
faxing or copying (page 28).
RECEPTION MODE key
Press this key to select the reception mode (an arrow in the display will point
to the currently selected reception mode; page 23).
POLL key
Press this key after dialling another fax machine to receive a document
(previously loaded in the other machine’s feeder) without assistance from the
operator of the other machine (page 65).
HOLD key
Press this key to put the other party on hold during a phone conversation
(page 46).
Display
This displays messages and prompts to help you operate the machine.
A Look at the Operation Panel
1
2
3
4
5
6
JKL
ABC
1
DEF
WXYZ
9
GHI
4
5
MNO
6
PQRS
7
TUV
8
0
2 3
RESOLUTION
RECEPTION
MODE
FUNCTION
STOP
COPY
START/MEMORY
ZA
TEL FAX
TEL/FAX A.M.
HELP
REDIAL
POLL
HOLD
13
1210 11
15
1 2 3 4 5 86 9
14
7
all.book Page 7 Monday, September 29, 2003 4:57 PM

Table of Contents

Other manuals for Sharp FO-P610

Related product manuals