EasyManua.ls Logo

Shini STM-910W - Picture 4-5: Control Setting

Shini STM-910W
107 pages
Print Icon
To Next Page IconTo Next Page
To Next Page IconTo Next Page
To Previous Page IconTo Previous Page
To Previous Page IconTo Previous Page
Loading...
87(107)
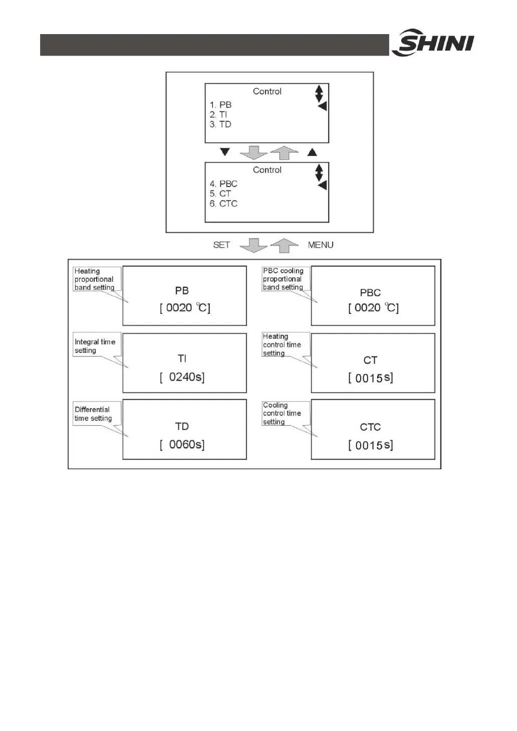
Picture 4-5: Control Setting
7) Press MENU key to retuen to menu screen, press / key to select alarm
setting then press SET to enter setting menu, see picture below. Here is
parameter setting:
PHASE——used
Water out temp. deviation——0 (not opt for temp. sensor)
5 (opt for temp. sensor, increase it suitably if
frequent alarms)
Return water deviation——0 (ont opt for temp. sensor)

Table of Contents

Related product manuals