EasyManua.ls Logo

SICK deTec4 Core Ex - Page 66

SICK deTec4 Core Ex
80 pages
Print Icon
To Next Page IconTo Next Page
To Next Page IconTo Next Page
To Previous Page IconTo Previous Page
To Previous Page IconTo Previous Page
Loading...
6,4
9,5
67,5
58,7
161,8
89,6
44,5
1.700,2
1.668,2
1.635
231 229,9
50,8
142,1
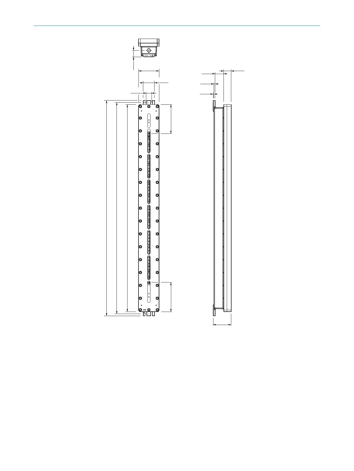
Figure 40: Dimensional drawing, sender and receiver, protective field height 1,200 mm
12 T
ECHNICAL DATA
66
O P E R A T I N G I N S T R U C T I O N S | deTec4 Core Ex 8017023/14Q6/2020-04-27 | SICK
Subject to change without notice

Table of Contents

Related product manuals