EasyManua.ls Logo

SICK MLP1 - Page 21

SICK MLP1
48 pages
Print Icon
To Next Page IconTo Next Page
To Next Page IconTo Next Page
To Previous Page IconTo Previous Page
To Previous Page IconTo Previous Page
Loading...
Figure 7: Removing the cover plate
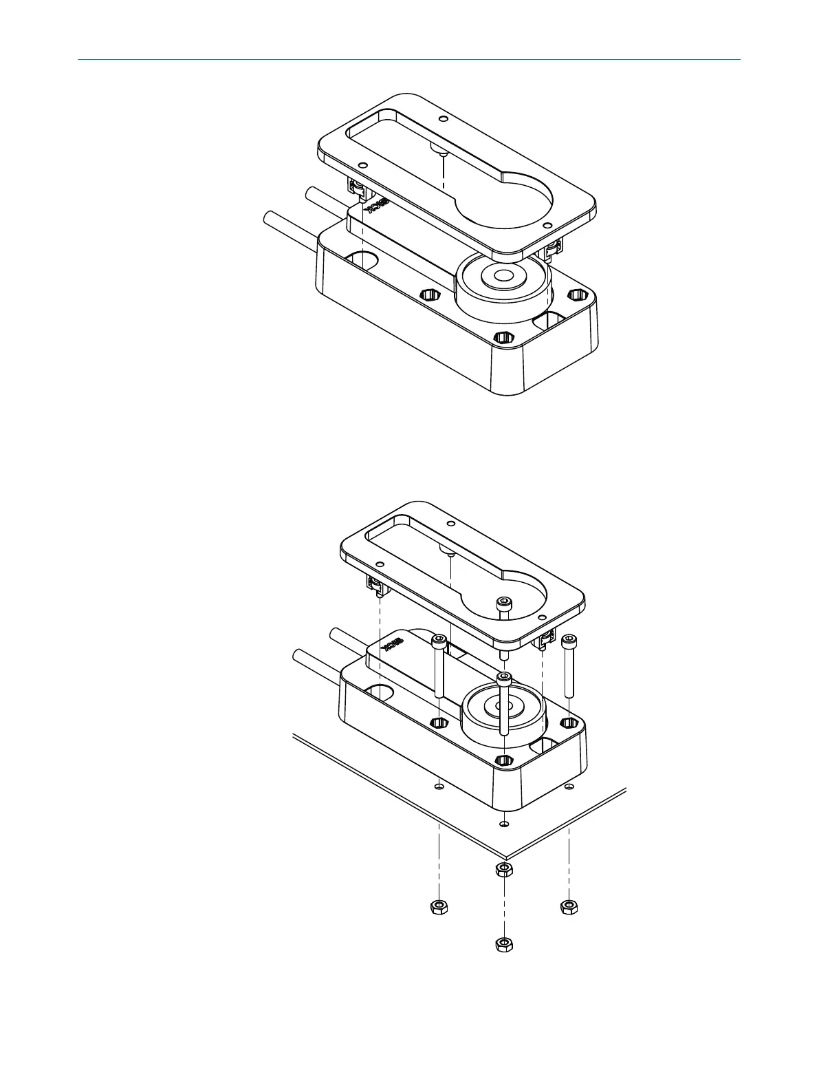
2. Mount the sensor on the fixed part of the protective device with 4 x M4 screws and
sec
ure it with 4 nuts.
°
With surface mounting: mount the sensor on the fixed part of the protective
device. The screws can be set in the front or the back:
Figure 8: Surface mounting
MOUNTING 5
8020169/ZJN1/2018-03-21 | SICK O P E R A T I N G I N S T R U C T I O N S | MLP1
21
Subject to change without notice

Related product manuals