EasyManua.ls Logo

Siemens BC8001A - Page 11

Siemens BC8001A
51 pages
Print Icon
To Next Page IconTo Next Page
To Next Page IconTo Next Page
To Previous Page IconTo Previous Page
To Previous Page IconTo Previous Page
Loading...
BC8001A Installation and Operating Instruction
Page 10/49
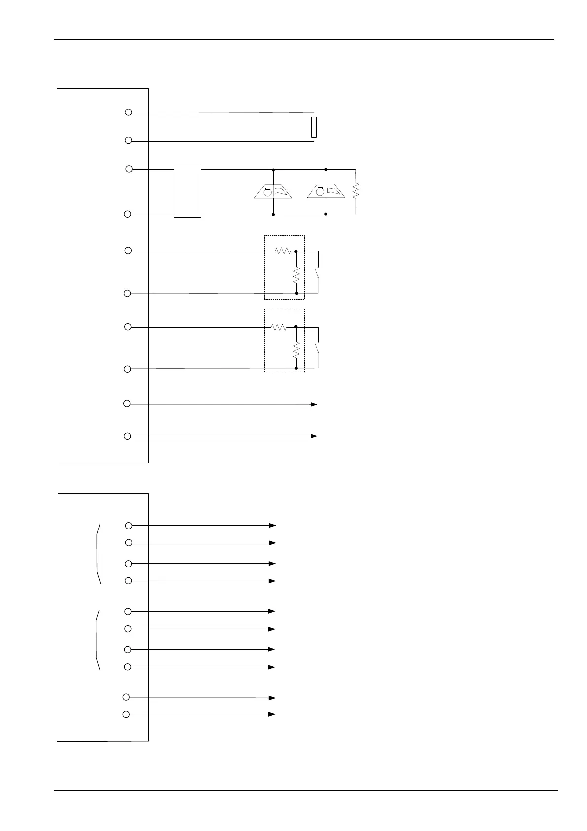
Class B Style 4
24VDC@250mA,Supervised
Power Limited
Line impedance: Max. 50ohm
OC
24-
N+
P
S
P
S
N-
D1
24-
J1101 Terminal
24VDC/400~2000ohm,Supervised
Power Limited
Programmable
Line impedance: Max. 50ohm
10K
10K
Dry contact1
D2
24-
10K
10K
Dry contact2
On site
On site
20K
resistor*
Class B Style Y
24VDC/1.5A, Supervised
Power Limited
Regulated 24
Line impedance: Max. 4ohm
(*supplied with BC8001A)
…..
Synchronous
module
EOL83
EOL83
External Device
Red
Black
Orange
Black
Red
Black
Orange
Black
Class B Style B
5.0VDC/0.3mA, Supervised
Line impedance: Max. 50ohm
Class B Style B
5.0VDC/0.3mA, Supervised
Line impedance: Max. 50ohm
To field devices
Figure 4 External wiring diagram
No Connection
A+
A-
A+
A-
A-Bus
B+
B-
B+
B-
B-Bus
To field devices
Class B Style 4
24VDC@250mA,Supervised
Power Limited
Line impedance: max. 50ohm
P
S
P
S
No Connection
No Connection
No Connection
Figure 5 BC8001A Extension card wiring diagram

Related product manuals