EasyManua.ls Logo

Siemens SIMATIC PCS 7 - SM 321; DI 16 X DC 24 V, 6 ES7 321-1 BH02-0 AA0

Siemens SIMATIC PCS 7
434 pages
To Next Page IconTo Next Page
To Next Page IconTo Next Page
To Previous Page IconTo Previous Page
To Previous Page IconTo Previous Page
Loading...
Connection examples for redundant I/Os
C.5 SM 321; DI 16 x DC 24 V, 6ES7 3211BH020AA0
CPU 410 Process Automation/CPU 410 SMART
System Manual, 05/2017, A5E31622160-AC
395
C.5
SM 321; DI 16 x DC 24 V, 6ES7 3211BH02–0AA0
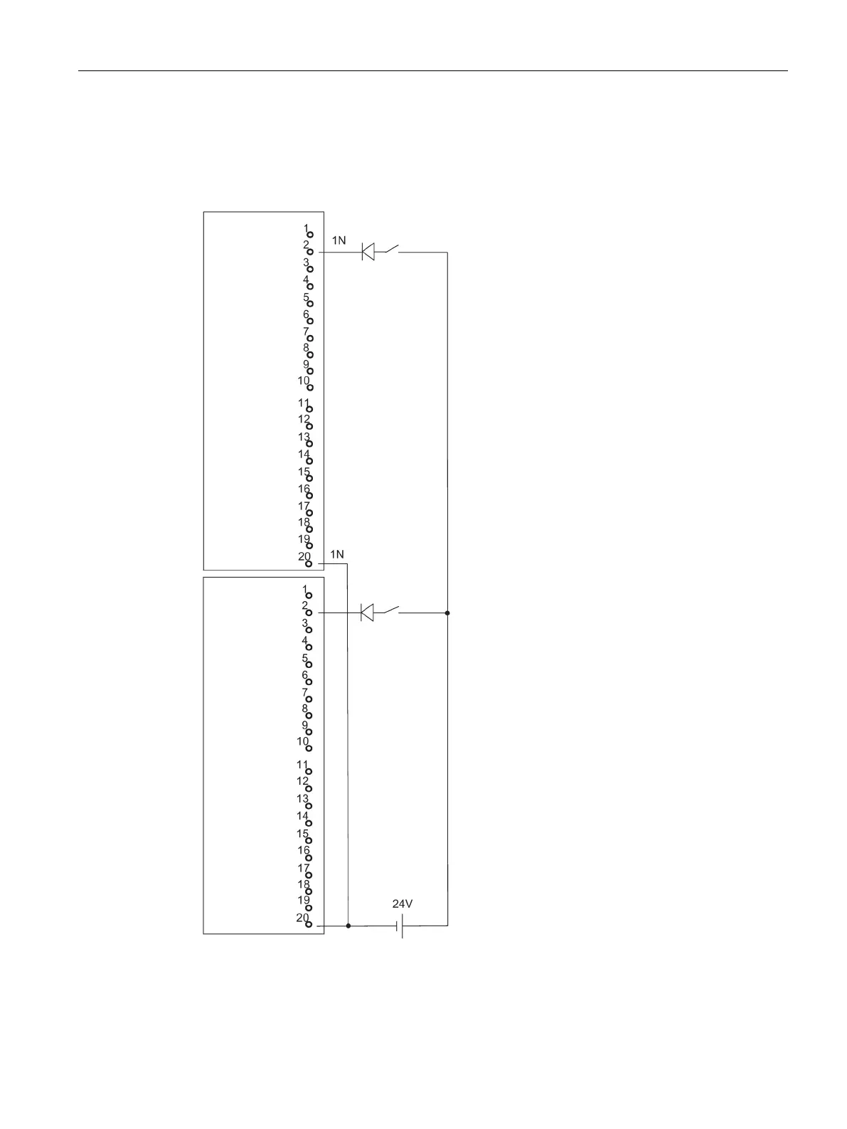
The diagram below shows the connection of two redundant encoders to two SM 321; DI 16 x
DC 24 V. The encoders are connected to channel 0.
Figure C-3 Example of an interconnection with SM 321; DI 16 x DC 24 V

Table of Contents

Other manuals for Siemens SIMATIC PCS 7

Related product manuals