EasyManua.ls Logo

Siemens SIMATIC PCS 7 - SM 322; DO 16 X DC 24 V;0.5 A, 6 ES7 322-8 BH01-0 AB0

Siemens SIMATIC PCS 7
434 pages
To Next Page IconTo Next Page
To Next Page IconTo Next Page
To Previous Page IconTo Previous Page
To Previous Page IconTo Previous Page
Loading...
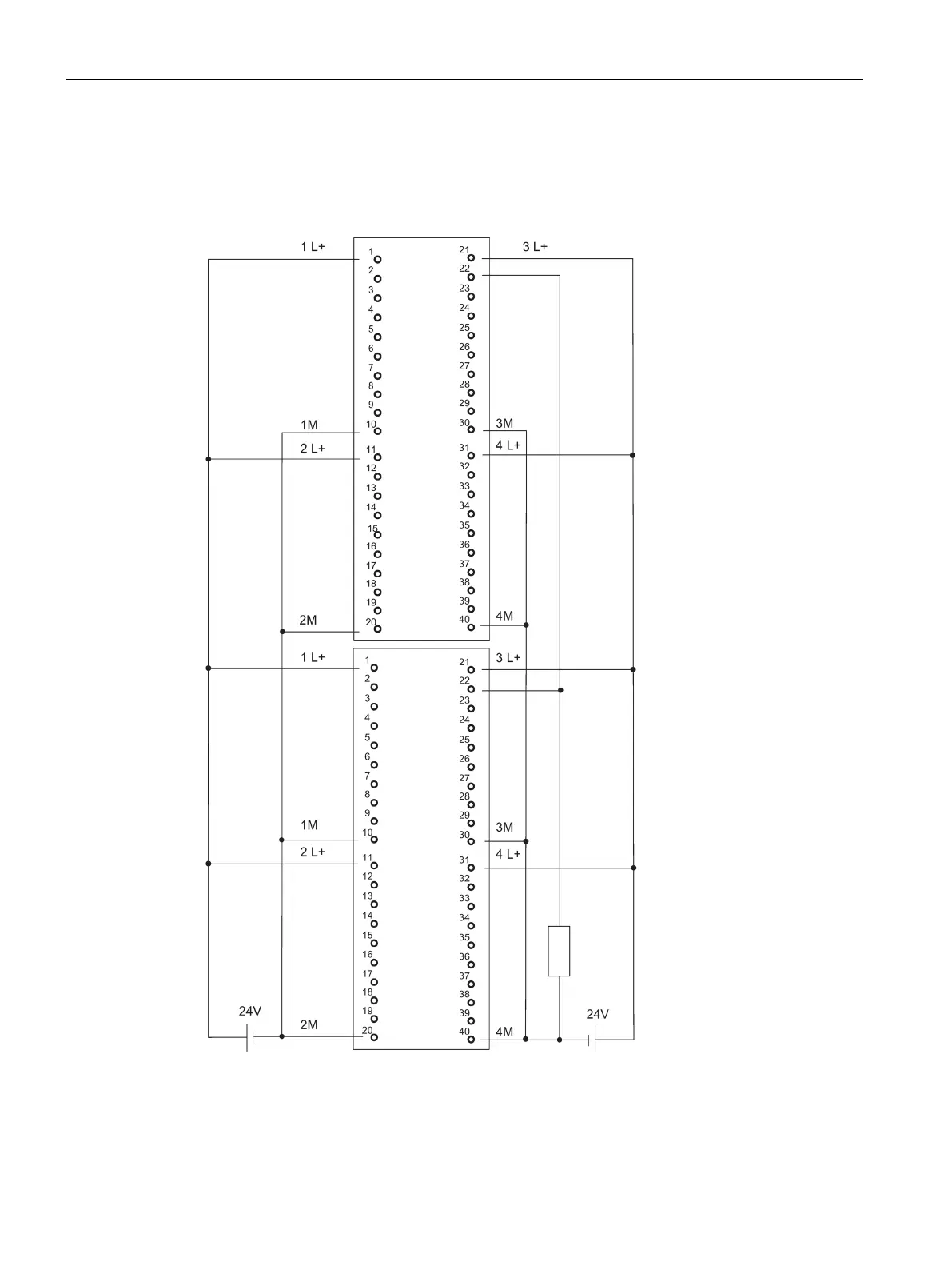
Connection examples for redundant I/Os
C.24 SM 322; DO 16 x DC 24 V/0.5 A, 6ES7 3228BH010AB0
CPU 410 Process Automation/CPU 410 SMART
414 System Manual, 05/2017, A5E31622160-AC
C.24
SM 322; DO 16 x DC 24 V/0.5 A, 6ES7 3228BH01–0AB0
The diagram below shows the connection of an actuator to two redundant SM 322; DO 16 x
DC 24 V/0.5 A. The actuator is connected to channel 8.
Figure C-22 Example of an interconnection with SM 322; DO 16 x DC 24 V/0.5 A

Table of Contents

Other manuals for Siemens SIMATIC PCS 7

Related product manuals