EasyManua.ls Logo

Siemens SIPROTEC - Page 183

Siemens SIPROTEC
776 pages
Print Icon
To Next Page IconTo Next Page
To Next Page IconTo Next Page
To Previous Page IconTo Previous Page
To Previous Page IconTo Previous Page
Loading...
Functions
2.6 Power Swing Detection (optional)
SIPROTEC, 7SD5, Manual
C53000-G1176-C169-5, Release date 02.2011
183
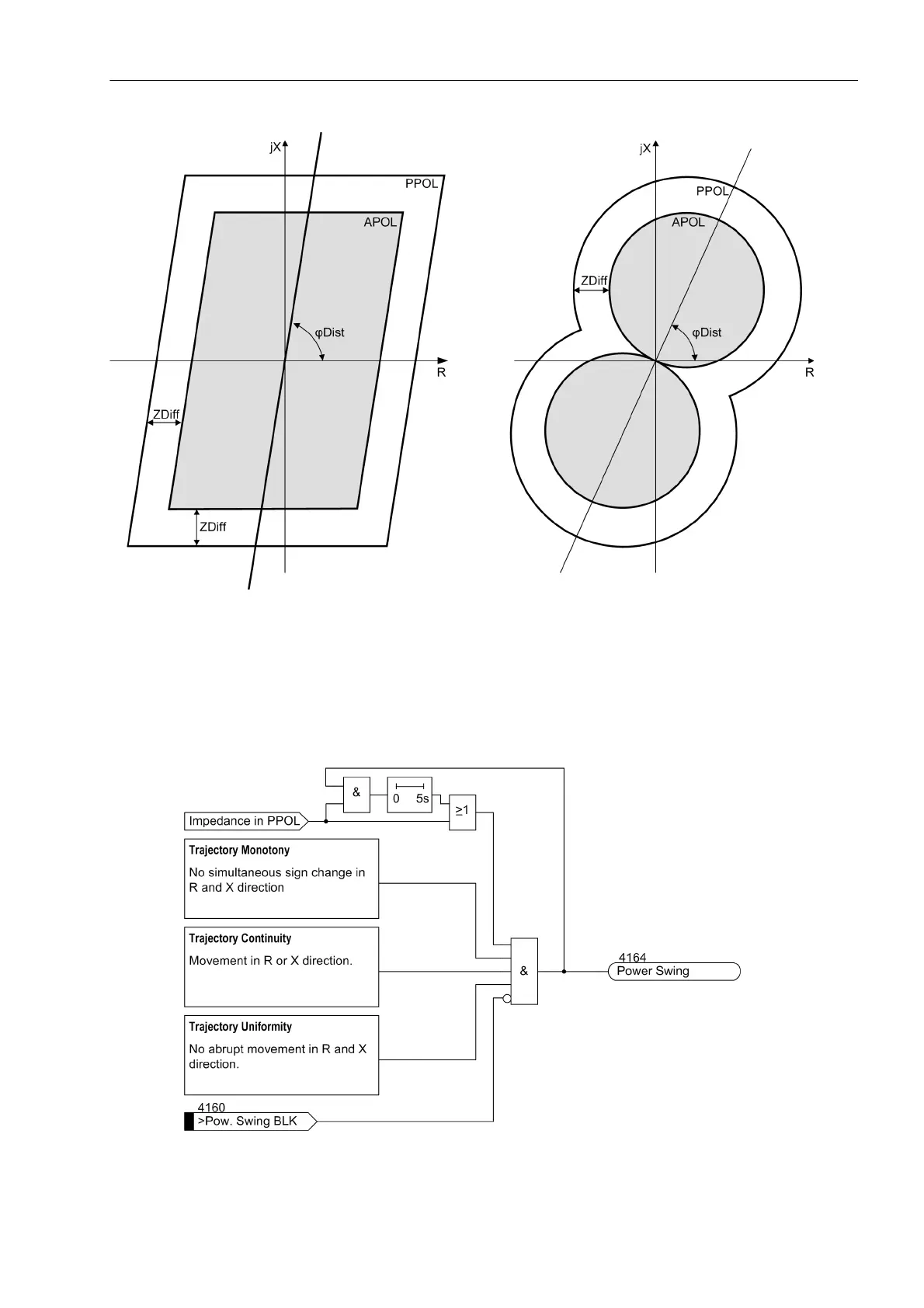
Figure 2-78 Operating range of the power swing detection for polygon and MHO characteristics
In Figure 2-78, a simplified logic diagram for the power swing function is given. This measurement is executed
per phase. A power swing signal will be generated if the measured impedance is inside the power swing
polygon (PPOL). The power swing signal remains active until a fault occurs or until the power swing has de-
cayed. The power swing detection can be blocked via the binary input No. 4160 „>Pow. Swing BLK“.
Figure 2-79 Logic diagram of power swing detection

Table of Contents

Related product manuals