EasyManua.ls Logo

Snapper E250816BE - Page 37

Snapper E250816BE
44 pages
Print Icon
To Next Page IconTo Next Page
To Next Page IconTo Next Page
To Previous Page IconTo Previous Page
To Previous Page IconTo Previous Page
Loading...
37
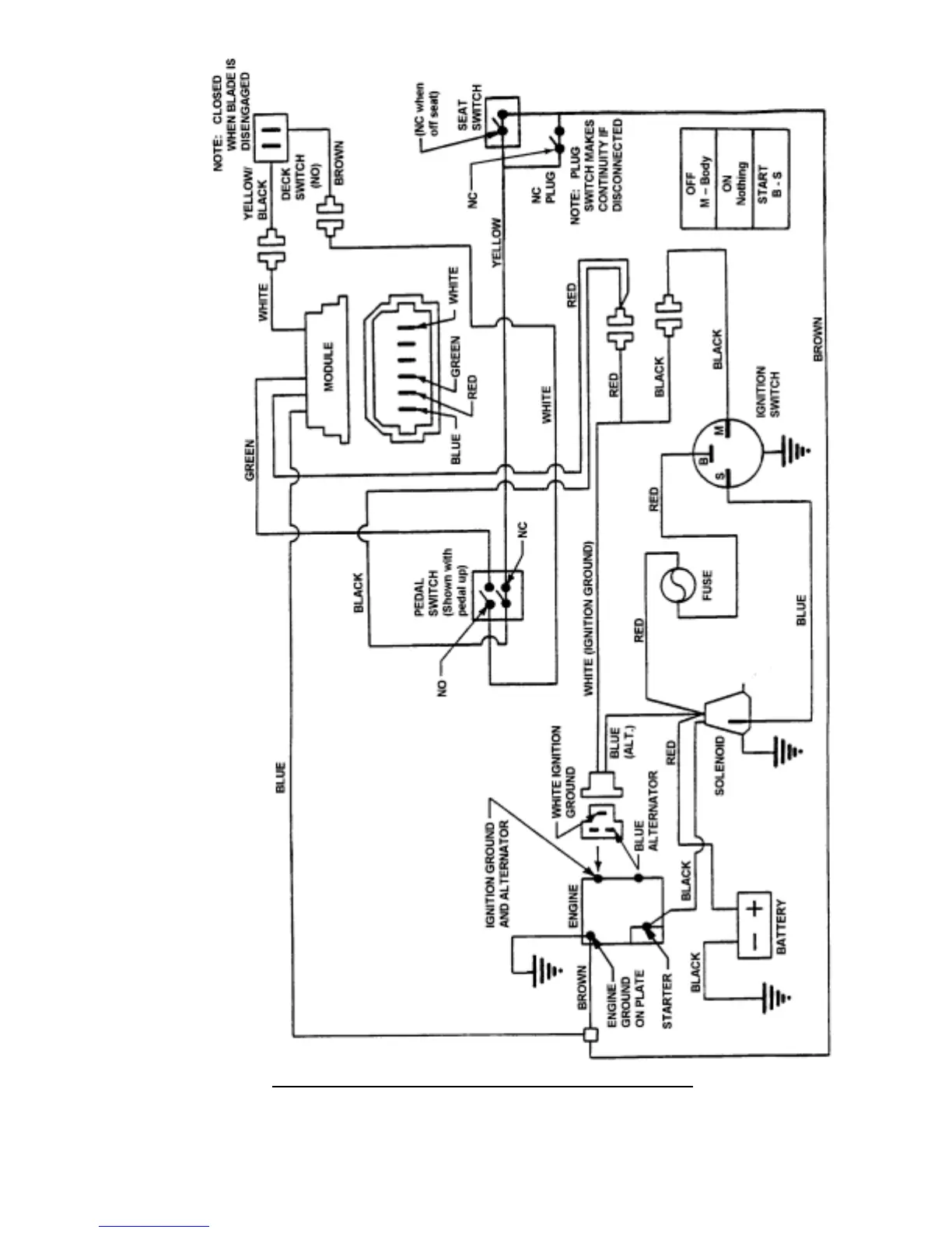
WIRING SCHEMATICS
WIRING SCHEMATIC FOR 14 & 15 HP KOHLER ENGINES
R. E. RIDER (EURO) SERIES 16 & 18 MANUAL No. 06103

Related product manuals