EasyManua.ls Logo

SOLTEK SL-52D2 - CPU Voltage Setting; Single Voltage Setting: Intel P54 C, Cyrix 6 X86, AMD K5;SSA5; Dual Voltage Setting: Intel P55 C, Cyrix 6 X86(L), M2, AMD K5;SSA5 (Green Caps)

Default Icon
45 pages
Print Icon
To Next Page IconTo Next Page
To Next Page IconTo Next Page
To Previous Page IconTo Previous Page
To Previous Page IconTo Previous Page
Loading...
Hardware Installation 9
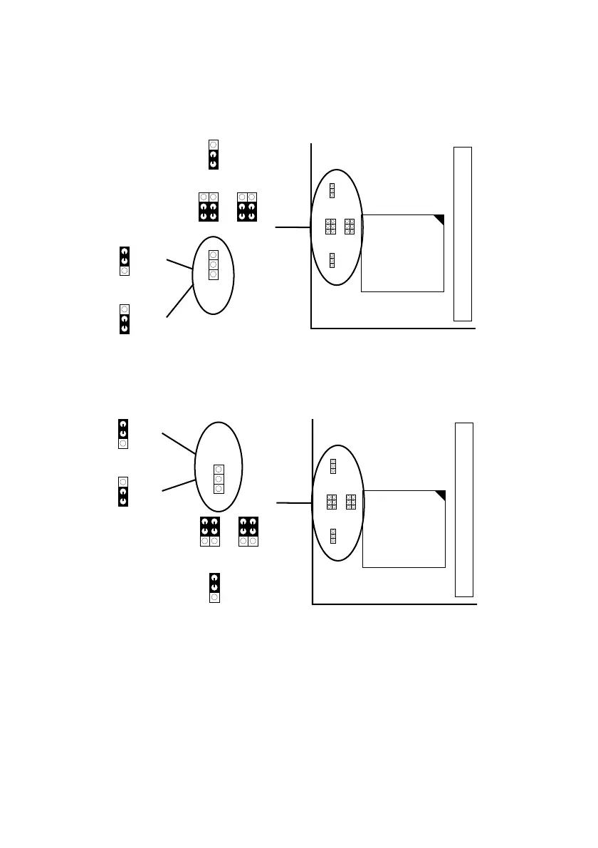
CPU Voltage Setting
Single Voltage Setting: Intel P54C, Cyrix 6x86, AMD K5/SSA5
(Green Caps)
JP5
SRAM Slot
CPU
JP5
JP7
JP9
1
1
1
JP6
1
1
JP9
1
JP7
1
JP6
1
3.52V
3.36V
Figure 2Ð5Ð1. CPU Type Configuration
Dual Voltage Setting: Intel P55C, Cyrix 6x86(L), M2, AMD
K5/SSA5 (Green Caps)
JP9
SRAM Slot
CPU
JP5
JP7
JP9
1
1
1
JP6
1
JP5
1
1
JP7
1
JP6
1
2.8V
2.5V
Figure 2Ð5Ð2. CPU Type Configuration

Table of Contents

Related product manuals