EasyManua.ls Logo

Sony CCD-TRV128 - Page 99

Sony CCD-TRV128
179 pages
Print Icon
To Next Page IconTo Next Page
To Next Page IconTo Next Page
To Previous Page IconTo Previous Page
To Previous Page IconTo Previous Page
Loading...
Recording
22
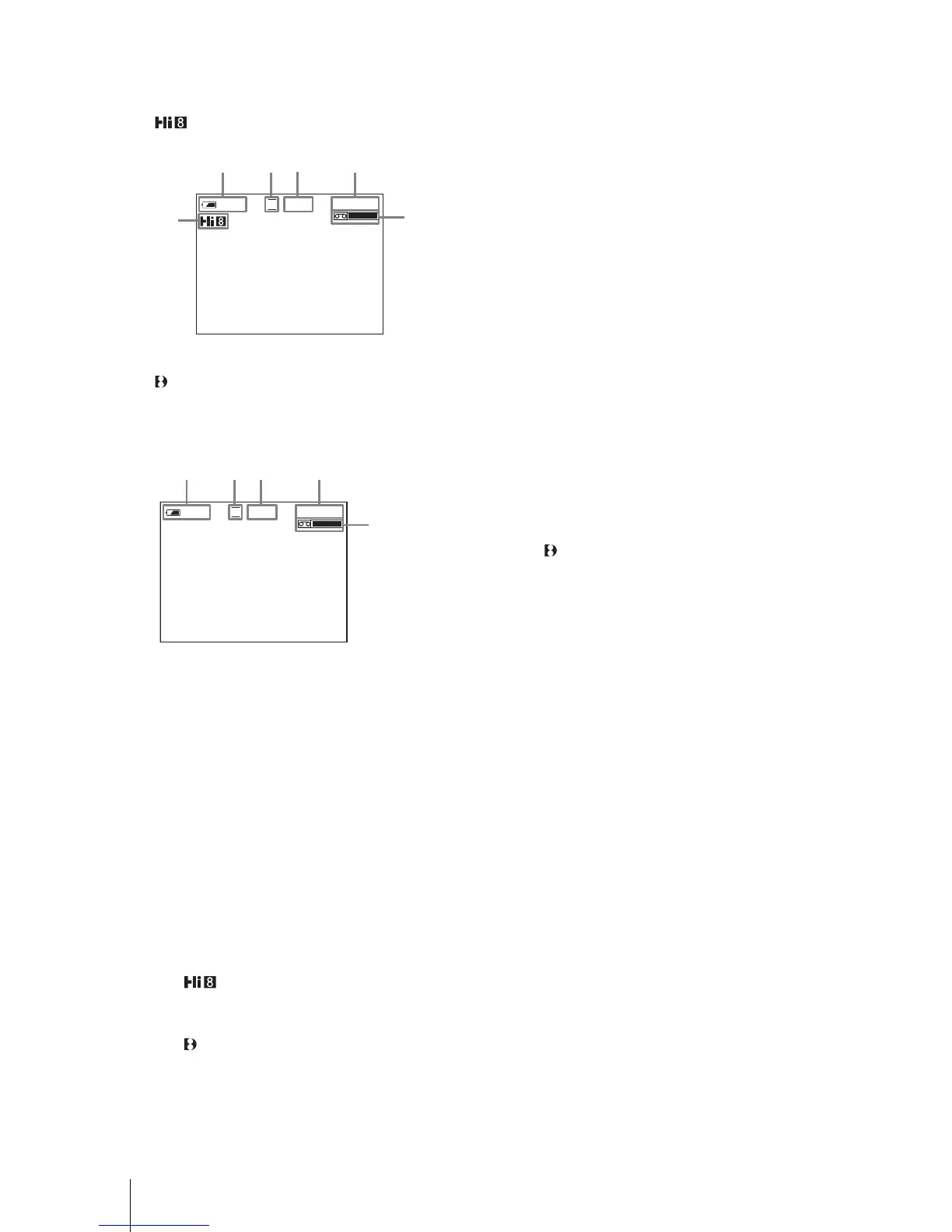
Indicators displayed during recording
The indicators will not be recorded on the tape.
For TRV128/228/328/428:
For TRV
260/265:
Date/time and camera settings data (p. 37) will
not be displayed during recording.
A Remaining battery time
The indicated time may not be correct
depending on the environment of use.
When you opened or closed the LCD panel,
it takes about 1 minute to display the correct
remaining battery time.
B Recording mode (SP or LP)
C Recording status ([STBY] (standby) or
[REC] (recording))
D Tape counter (hour: minute: second)
To set the counter to 0:00:00, press
COUNTER RESET (p. 93).
E Recording capacity
For TRV
128/228/328/428:
This appears after you insert a cassette and
record for a while.
For TRV260/265:
This appears after a while when you set the
POWER switch to CAMERA and insert a
cassette.
F Hi8 format
This appears while recording Hi8 format
tapes.
G Time code/Tape counter (hour: minute:
second)/Tape photo recording
b Notes
Before changing the battery pack, slide the POWER
switch up to (CHG) OFF.
In the default setting, if you do not operate the
camcorder for more than about 5 minutes, the power
will automatically turn off to preserve battery power
([A.SHUT OFF], p. 59). To restart recording, slide
the POWER switch down to select CAMERA, and
then press REC START/STOP.
z Tips
To ensure smooth transition on a tape from the last
recorded scene to the next, note the following.
Do not remove the cassette. (The picture will be
recorded continuously without a break even when
you turn the power off.)
Do not record pictures in SP mode and LP mode on
the same tape.
Avoid stopping then recording a movie in the LP
mode.
For TRV260/265:
The recording time, date, and the camera settings
data are recorded automatically on the tape without
being displayed on the screen. You can view this
information during playback by selecting [DATA
CODE] on the screen (p. 59).
SP
0:00:00
60min
REC
123
5
4
6
SP
0:00:00
60min
REC
12
3
7
5

Table of Contents

Related product manuals