EasyManua.ls Logo

Sony CPD-E530 - Troubleshooting; No picture; Self-diagnosis function

Sony CPD-E530
109 pages
Print Icon
To Next Page IconTo Next Page
To Next Page IconTo Next Page
To Previous Page IconTo Previous Page
To Previous Page IconTo Previous Page
Loading...
6
D:\##sagyou\#04 Apr\0411(THU)\820677SCPD-E530\4089777111CPD-E530\GB\01GB03BAS-AEP.fm
masterpage:Left
CPD-E530
4-089-777-11 (1)
Troubleshooting
x No picture
If the ! (power) indicator is not lit
Check that the power cord is properly connected.
Check that the ! (power) switch is in the on position.
The ! (power) indicator is orange
Check that the video signal cable is properly connected and all plugs
are firmly seated in their sockets.
Check that the INPUT switch setting is correct.
Check that the HD15 video input connectors pins are not bent or
pushed in.
Check that the computers power is on.
The computer is in power saving mode. Try pressing any key on the
computer keyboard or moving the mouse.
Check that the graphic board is completely seated in the proper bus
slot.
If the ! (power) indicator is green or flashing orange
Use the Self-diagnosis function.
x Picture flickers, bounces, oscillates, or is scrambled
Isolate and eliminate any potential sources of electric or magnetic
fields such as other monitors, laser printers, electric fans, fluorescent
lighting, or televisions.
Move the monitor away from power lines or place a magnetic shield
near the monitor.
Try plugging the monitor into a different AC outlet, preferably on a
different circuit.
Try turning the monitor 90° to the left or right.
Check your graphics board manual for the proper monitor setting.
Confirm that the graphics mode and the frequency of the input signal
are supported by this monitor (see Preset mode timing table on
page i). Even if the frequency is within the proper range, some
graphics board may have a sync pulse that is too narrow for the
monitor to sync correctly.
Adjust the computers refresh rate (vertical frequency) to obtain the
best possible picture.
x Picture is fuzzy
Adjust the contrast, brightness, and PICTURE EFFECT.
Degauss the monitor.*
Adjust the degree of moire cancellation until the moire is minimal,
or set CANCEL MOIRE to OFF.
x Picture is ghosting
Eliminate the use of video cable extensions and/or video switch
boxes.
Check that all plugs are firmly seated in their sockets.
x Picture is not centered or sized properly
Perform the Auto Size Center function.
Adjust the size or centering. Note that with some input signals and/
or graphics board the periphery of the screen is not fully utilized.
Just after turning on the power switch, the size/center may take a
while to adjust properly.
x Edges of the image are curved
Adjust the geometry.
x Wavy or elliptical pattern (moire) is visible
Adjust the degree of moire cancellation until the moire is minimal.
Change your desktop pattern.
x Color is not uniform
Degauss the monitor.* If you place equipment that generates a
magnetic field, such as a speaker, near the monitor, or if you change
the direction the monitor faces, color may lose uniformity.
Adjust the landing.
x White does not look white
Adjust the color temperature.
x Monitor buttons do not operate ( appears on the
screen)
If the control lock is set to ON, set it to OFF.
x Letters and lines show red or blue shadows at the
edges
Adjust the convergence.
x A hum is heard right after the power is turned on
This is the sound of the auto-degauss cycle. When the power is
turned on, the monitor is automatically degaussed for a few seconds.
* If a second degauss cycle is needed, allow a minimum interval of
20 minutes for the best result. A humming noise may be heard, but this is
not a malfunction.
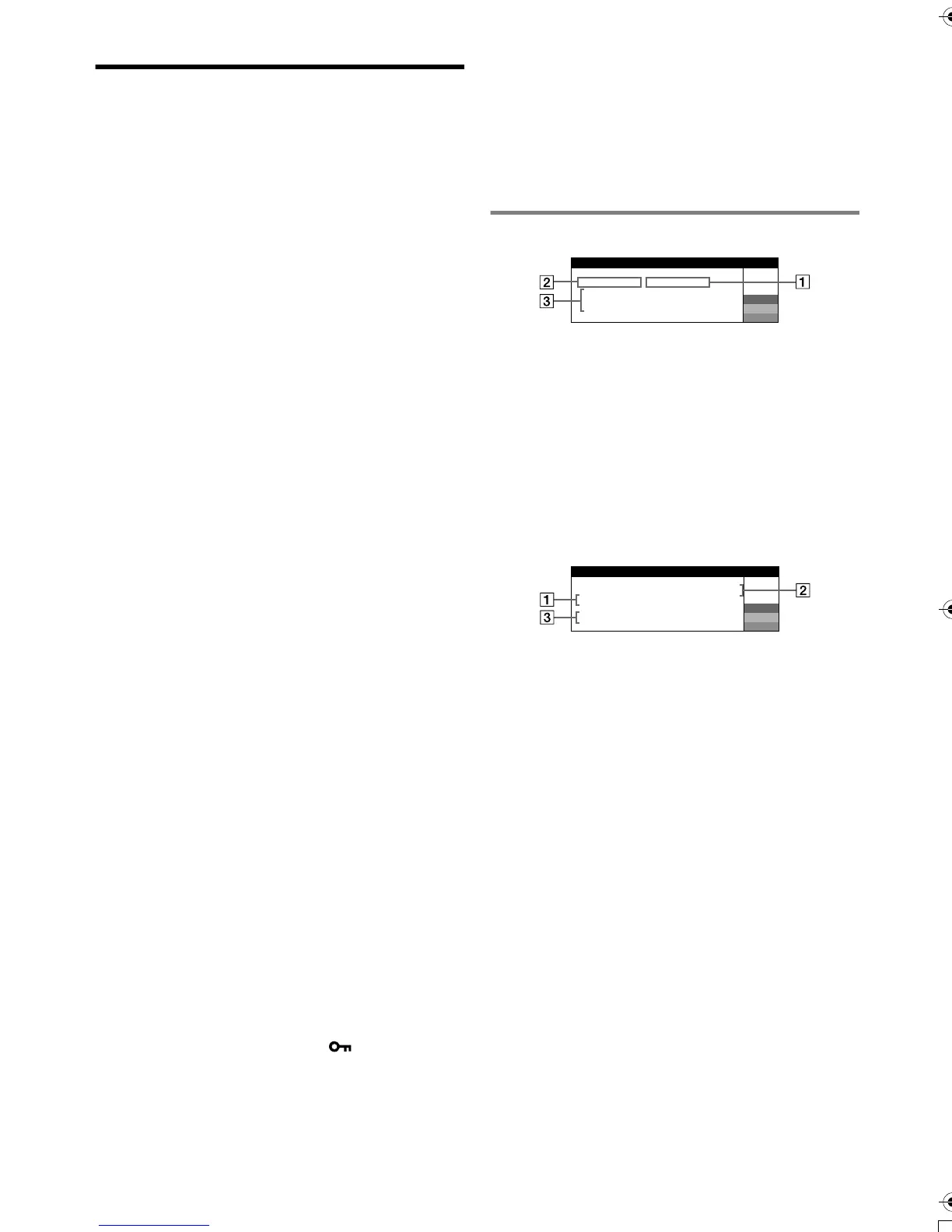
On-screen messages
1 If NO SIGNAL appears:
This indicates that no signal is input from the selected connector.
2 Shows the currently selected connector.
3 Shows the remedies.
If ACTIVATE BY COMPUTER appears on the screen, try
pressing any key on the computer or moving the mouse, and
confirm that your computers graphic board is completely seated
in the correct bus slot.
If CHECK SIGNAL CABLE appears on the screen, check that
the monitor is correctly connected to the computer.
If CHECK INPUT SELECTOR appears on the screen, try
changing the input signal.
1 If OUT OF SCAN RANGE appears:
This indicates that the input signal is not supported by the monitors
specifications.
2 Shows the input signal frequency.
3 Shows the remedies.
CHANGE SIGNAL TIMING appears on the screen. If you are
replacing an old monitor with this monitor, reconnect the old
monitor. Then adjust the computers graphic board so that the
horizontal frequency is between 30 117 kHz, and the vertical
frequency is between 48 170 Hz.
IIONNFORMAT
MON I I I NGS WORKTOR
I
I VATE
2:NO
BY
S
COMPUTER
W
R
G
B
GNALI
S GNAL CABLEI
NPUT
I NPUT SELECTOR
ACT
CHECK
CHECK
W
R
G
B
IIONNFORMAT
MON I I I NGS WORKTOR
I1:.200 0 /kHz 85Hz
RANGE
S GNAL TIIINGM
NPUT
OUT OF SCAN
CHANGE
01GB01COV-AEP.book Page 6 Thursday, April 11, 2002 10:20 AM

Table of Contents

Related product manuals