EasyManua.ls Logo

Sony HCD-EX100 - Disassembly Procedures; Initial Disassembly Steps

Sony HCD-EX100
48 pages
Print Icon
To Next Page IconTo Next Page
To Next Page IconTo Next Page
To Previous Page IconTo Previous Page
To Previous Page IconTo Previous Page
Loading...
9
HCD-EX100
SECTION 3
DISASSEMBLY
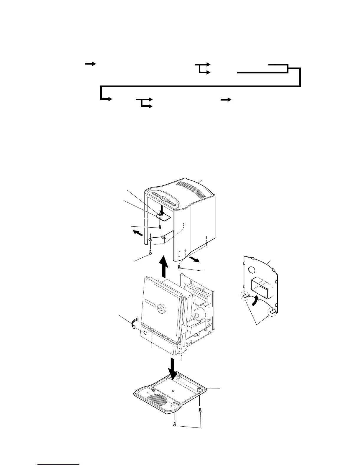
3-1. REAR COVER, BOTTOM PLATE, CASE AND EJECT BOARD
Note: Disassemble the unit in the order as shown below.
1
2
Two claws
Rear cove
r
9
Case with cover (top) assy
3
Four screws
(+BVT3X5)
4
Bottom plate
5
Three screws
(+BVTT3X5)
5
Three screws
(+BVTT3X5)
8
Connector
(from CN602
on Panel board)
6
B
B
A
A
6
7
Screw (2X3)
Washer
qa
qs
0
Eject board
Set
Panel board and Stabilizer
Amp block
CD block Motor assy, Cam and SW board Base unit and Pick up assy
Main board,REG board, Power board
Rear cover, Bottom plate, Case and Eject board
Note: Follow the disassembly procedure in the numerical order given.

Related product manuals