EasyManua.ls Logo

Sony HT-G700 - Remote Control Functions

Sony HT-G700
62 pages
Print Icon
To Next Page IconTo Next Page
To Next Page IconTo Next Page
To Previous Page IconTo Previous Page
To Previous Page IconTo Previous Page
Loading...
11
US
C:\FY20HT_models\SB1\ANKI\UC2\01US-HTZ9FUC2\030PAC.fm masterpage:
Right
HT-G700
5-013-058-11(1)
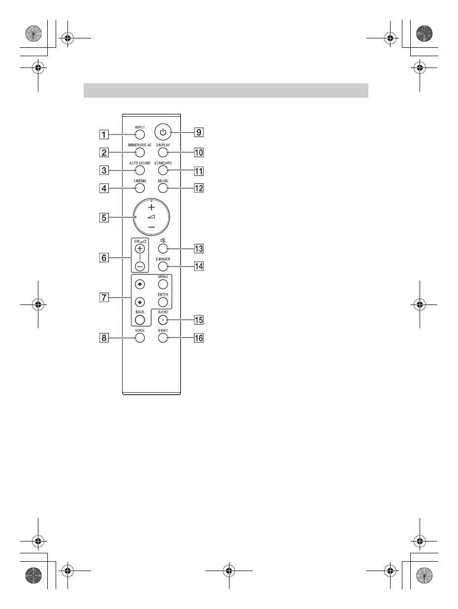
INPUT (page 22)
Selects the playback source.
Each time you press INPUT, the
selected input appears in the front
panel display cyclically as follows.
[TV] [HDMI] [BT]
IMMERSIVE AE (page 27)
Turns on/off the vertical surround
function.
AUTO SOUND (page 28)
CINEMA (page 28)
 (volume) +*/– (page 23)
Adjusts the volume.
SW (subwoofer volume) +/–
(page 23)
Adjusts the volume of the
subwoofer.
MENU (page 34)
Turns on/off the setting menu in
the front panel display.
/ (page 34)
Selects the menu items.
ENTER (page 34)
Enters the selection.
BACK (page 34)
Returns to the previous display.
VOICE (page 29)
 (power)
Turns on the system or sets it to
standby mode.
DISPLAY (page 30)
Displays the settings of the sound
mode, IMMERSIVE AE, voice
mode, night mode, and current
stream information.
STANDARD (page 28)
MUSIC (page 28)
Remote Control
010COV.book Page 11 Wednesday, September 18, 2019 1:58 PM

Other manuals for Sony HT-G700

Related product manuals