EasyManua.ls Logo

STA-RITE LT Series - Page 6

STA-RITE LT Series
16 pages
Print Icon
To Next Page IconTo Next Page
To Next Page IconTo Next Page
To Previous Page IconTo Previous Page
To Previous Page IconTo Previous Page
Loading...
6
Connect a No. 8 AWG (8.4 sq. mm) solid copper bonding wire to the pressure
wire connector provided on the motor housing and to all metal parts of the
swimming pool, spa, or hot tub and to all electrical equipment, metal piping
or conduit within 5 feet (1.5 m) of the inside walls of swimming pool, spa, or
hot tub.
Wiring
Pump must be permanently connected to circuit. Table I gives correct wire
and circuit breaker sizes for the pump alone. If other lights or appliances are
also on the same circuit, be sure to add their amp loads to pump amp load
before figuring wire and circuit breaker sizes. (If unsure how to do this or if
this is confusing, consult a licensed electrician.) Use the load circuit breaker
as the master on-off switch.
Install a Ground Fault Circuit Interrupter (GFCI) in circuit; it will sense a short-
circuit to ground and disconnect power before it becomes dangerous to pool
users. For size of GFCI required and test procedures for GFCI, see manufac-
turer’s instruction.
In case of power outage, check GFCI for tripping (which will prevent normal
pump operation). Reset if necessary.
NOTICE: If you do not use conduit when wiring motor, be sure to seal wire
opening on end of motor to prevent dirt, bugs, etc., from entering.
Values given in table below are for PUMP ONLY. If additional acces-
sories are installed on pump motor circuit (heater, blower, etc.), in-
clude their amerage draw when figuring wire and circuit breaker sizes.
White
230
Volt
Lines
A
B
L2
L1
Blue
SINGLE
VOLTAGE
MOTORS
DUAL
VOLTAGE
MOTORS
A
B
L2
L1
White
w/Black
Tracer
Black
115
Volt
Lines
A
B
L2
L1
White
w/Black
Tracer
Black
230
Volt
Lines
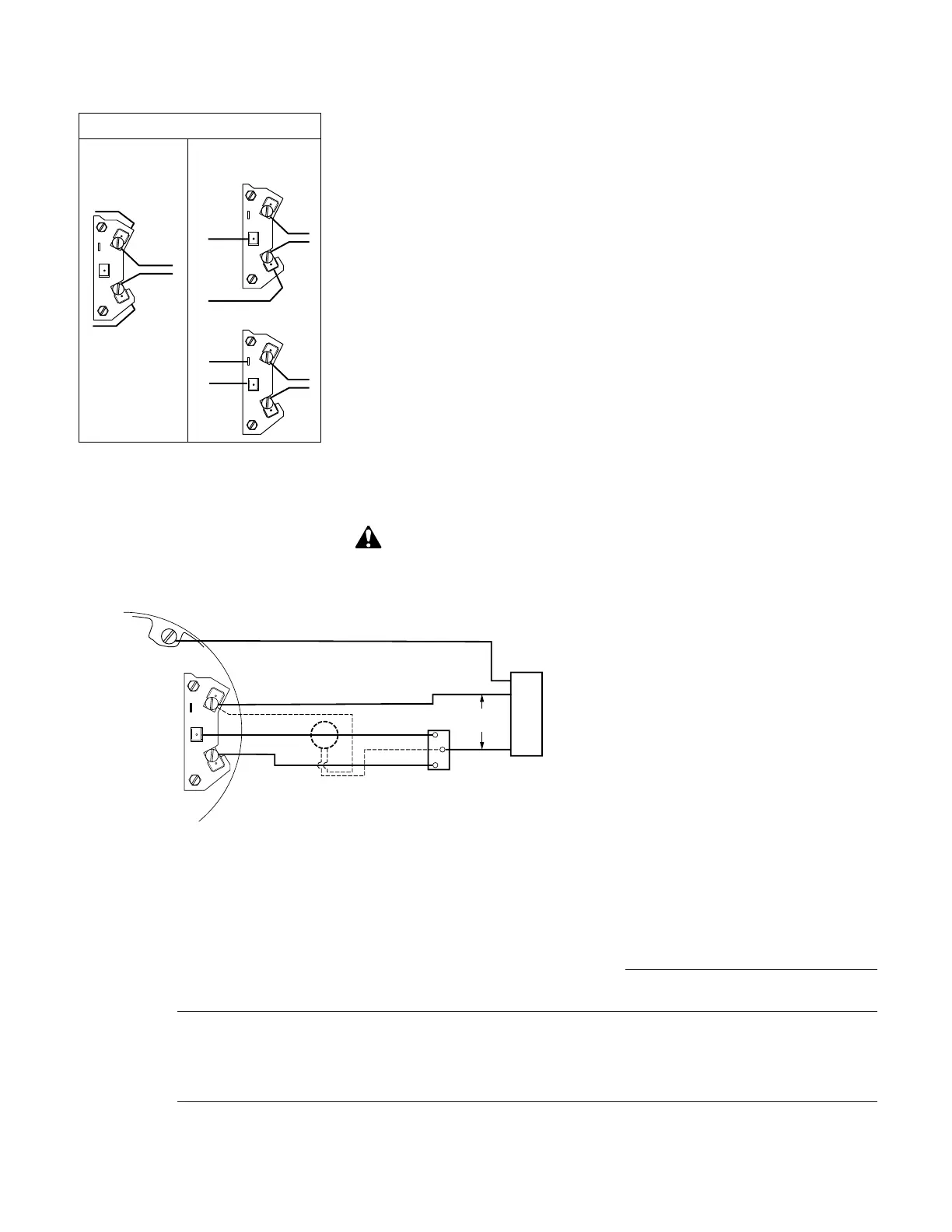
Motor Terminal Board Connections
Figure 3A – Wiring hook-up diagram.
Power Supply for
Optional Timer.
Low Spd
High Spd
Circuit
Protector
Remote
SPDT
Switch
Ground (Green)
Common
If using timer, Connect
Timer Motor to Low Speed Only
Minimum switch and timer amp rating must equal Branch Fuse
Rating given in "Recommended Fusing and Wiring Data" table.
A
B
L2
L1
Back of
motor
with
Terminal
Board
4213 0602
115 Volt
Lines
Figure 3B – Remote switching for 115V 2-Speed pumps. Timer supply should be
unswitched.
TABLE I - RECOMMENDED FUSING AND WIRING DATA – 60 Cycle Motors
Serv. to Motor - Dist. in Ft. (M)
Pump Motor Branch Fuse Max Load Voltage/ 0-100' 101-200' 201-300'
Model HP Rating Amps* Amps Hz/Phase (0-30M) (30-60M) (60-90M)
LT1/6L 1/6 15 4.5 115/60/1 14(2) 14(2) 14(2)
LTACL 1/2 15 8.4 115/60/1 14(2) 12(3) 10(5.5)
LTADL 3/4 15 11.4 115/60/1 14(2) 10(5.5) 8(8.4)
LTAYDRL 3/4-1/8 15 10.0-3.0 115/60/1 14(2) 12(3) 10(5.5)
* Branch Short Circuit Protection (Non Time-Delay Fuse).

Related product manuals