EasyManua.ls Logo

STG-BEIKIRCH 4A - Anschluss Automatischer Melder

STG-BEIKIRCH 4A
Print Icon
To Next Page IconTo Next Page
To Next Page IconTo Next Page
To Previous Page IconTo Previous Page
To Previous Page IconTo Previous Page
Loading...
16
08/13424999756
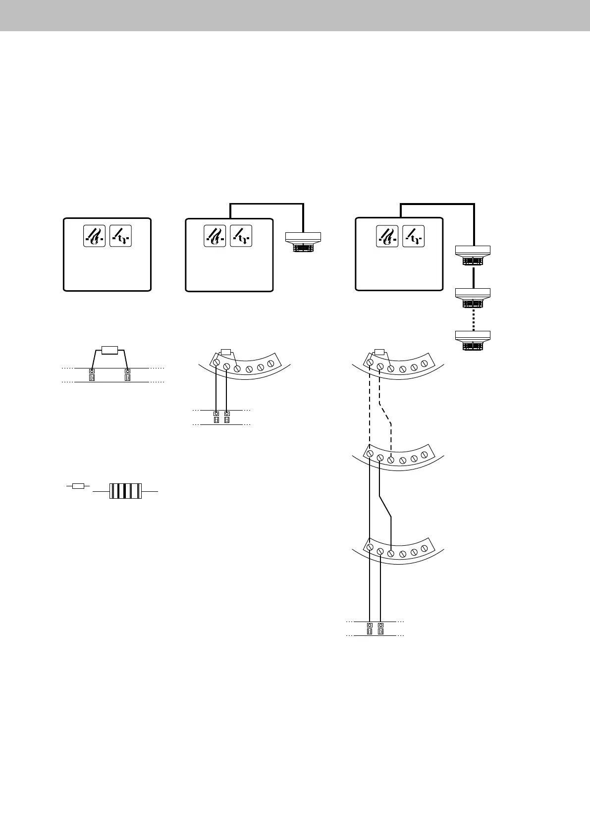
Anschluss automatischer Melder
Alle Arbeiten sind ohne Netzanschluss (230 V AC) und ohne angeschlossene Akkus durchzuführen. Alle Anschlusslei-
tungen sind von oben in das Gehäuse der Steuerzentrale zu führen. Die Anschlussleitungen sind nach Klemmplan an-
zuklemmen. Hierbei muss immer auf den richtigen Anschluss geachtet werden. Falsches Anklemmen sowie Nummern-
oder Farbendreher können zu Fehlfunktionen der Steuerzentrale oder der externen Elemente führen. Die Hinweise und
Installationsvorschriften in den technischen Dokumentationen sind immer zu beachten!
RWA Kompaktzentrale 4A, 4A/M und 8A, 8A/M
10kΩ
7 8
1
2
3
4
5
6
1
2
3
4
5
6
1
2
3
4
5
6
10kΩ
1
2
3
4
5
6
10kΩ
7 8
7 8
10kΩ
1 2
3 4
5
kein automatischer Melder ein automatischer Melder mehrere automatische Melder
SSD 521
UTD 521
UTD 523
MSD 523
letzter autom. Melder
SSD 521
UTD 521
UTD 523
MSD 523
ein autom.
Melder
1. autom. Melder
letzter
autom.
Melder
2. autom.
Melder
1. autom.
Melder
Überwachungswiderstand
Farb-Kennzeichnung:
1. Ring: braun
2. Ring: schwarz
3. Ring: schwarz
4. Ring: rot
5. Ring: braun

Table of Contents

Related product manuals