EasyManua.ls Logo

STG-BEIKIRCH 4A - Anschluss Slave-Zentrale (Kaskadierfunktion)

STG-BEIKIRCH 4A
Print Icon
To Next Page IconTo Next Page
To Next Page IconTo Next Page
To Previous Page IconTo Previous Page
To Previous Page IconTo Previous Page
Loading...
22
08/13424999756
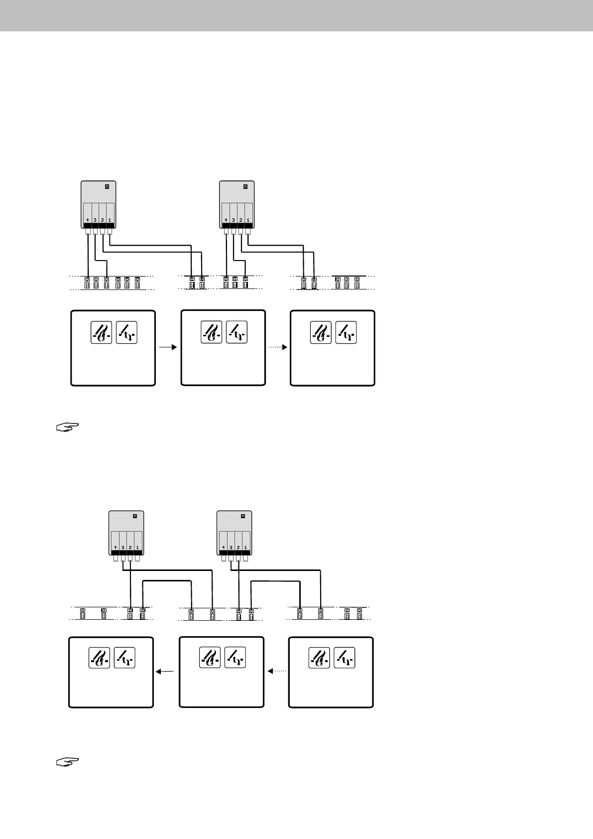
Anschluss Slave-Zentralen (Kaskadierfunktion)
(ab Hardwareversion Rev019, Softwareversion V020001, siehe Kennzeichnung auf der Platine)
Alle Arbeiten sind ohne Netzanschluss (230 V AC) und ohne angeschlossene Akkus durchzuführen. Alle Anschlusslei-
tungen sind von oben in das Gehäuse der Steuerzentrale zu führen. Die Anschlussleitungen sind nach Klemmplan an-
zuklemmen. Hierbei muss immer auf den richtigen Anschluss geachtet werden. Falsches Anklemmen sowie Nummern-
oder Farbendreher können zu Fehlfunktionen der Steuerzentrale oder der externen Elemente führen. Die Hinweise und
Installationsvorschriften in den technischen Dokumentationen sind immer zu beachten!
1. Anschluss Weiterleitung "RWA-Auslösung" an Slave-Zentrale
Hinweis: Bei allen Zentralen, bis auf die letzte Slave-Zentrale, werden die Dip-Schalter 4 + 8 auf ON gesetzt.
Bei der letzten Slave-Zentrale wird nur der Dip-Schalter 4 auf ON gesetzt.
2. Anschluss Weiterleitung "Störung" an Master-Zentrale
Hinweis: Bei allen Zentralen, bis auf die letzte Slave-Zentrale, werden die Dip-Schalter 4 + 8 auf ON gesetzt.
Bei der letzten Slave-Zentrale wird nur der Dip-Schalter 4 auf ON gesetzt.
Dip-Schalter 4+8
auf ON
Dip-Schalter 4+8
auf ON
Dip-Schalter 4+8
auf ON
Dip-Schalter 4+8
auf ON
Dip-Schalter 4 auf ON
Dip-Schalter 8 auf OFF
1)
UEB3-1K Modul in der
RWA-Steuerzentrale eingebaut
1)
UEB3-1K Modul in der
RWA-Steuerzentrale eingebaut
Dip-Schalter 4 auf ON
Dip-Schalter 8 auf OFF
27 28 29
30 31 32
7 8
27 28 29
7 8
27 28 29
Master-Zentrale Slave-Zentrale letzte Slave-Zentrale
30 32
36
37
30 32
36
37
30 32
36
37
30 32
36
37
30 32
36
37
30 32
36
37
1k
10k
2
4
1
3
UEB2
1k
10k
2
4
1
3
UEB2
Master-Zentrale
Slave-Zentrale letzte Slave-Zentrale
RWA Kompaktzentrale 4A, 4A/M und 8A, 8A/M
UEB3-1K Modul
1)
UEB3-1K Modul
1)
UEB3-1K Modul
1)
UEB3-1K Modul
1)
Das UEB3-1K ist nicht im Lieferumfang
enthalten. Bitte separat bestelle.
Das UEB3-1K ist nicht im Lieferumfang
enthalten. Bitte separat bestelle.

Table of Contents

Related product manuals