EasyManua.ls Logo

Sullair 175 - Compressor Cooling and Lubrication System

Sullair 175
100 pages
Print Icon
To Next Page IconTo Next Page
To Next Page IconTo Next Page
To Previous Page IconTo Previous Page
To Previous Page IconTo Previous Page
Loading...
Section 2
DESCRIPTION
10
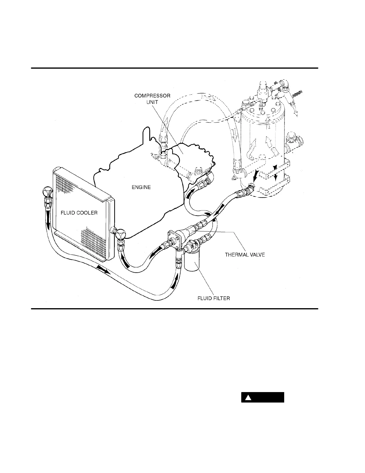
Figure 2 ---2 Compressor Cooling and Lubrication System
droplets of fluid separate a nd fall to the bottom of the
sump. The fractional percentage of fluid remaining
in the compressed air collects on the surface of the
final separator element as the compressed air flows
through the separator. As more and more fluid col-
lects on the element surface, the fluid descends to
the bottom of the separator. A return line (or scav-
enge tube) leads from the bottom of t he separator
element to the inlet region of the compressor unit.
Fluid collecting on the bottom of t he separator ele-
ment is returned to the compressor by the pressure
difference between the area surrounding t he sepa-
rator element and the compressor inlet. An orifice
(protected by a strainer) is included in this return line
to assure proper flow.
The sump is ASME code rated a t 175 psig (12.1 bar)
working pressure. A minimum pressure/check
valve, located downstream from the separator, as -
sures a minimum receiver pressure of 55 psig (3.8
bar) during all conditions. This pressure is neces -
sary for proper air/fluid separation and proper fluid
circulation.
A pressure relief valve (located on the wet side of the
separator) is set to open if the sump pressure ex-
ceeds 140 psig (9.7 bar) or 175 PSIG (12.1 bar) for
H machines. A temperature switch will s hut down
the compressor if the discharge temperature
reaches the specified limit given in Section 3, Speci-
fications.
Fluid is added to the sump via a capped fluid filler.
WARNING!
DO NOT remove caps, plugs, and/or other compo-
nents when compr essor is running or pressurized.
Stop compressor and relieve all internal pressure be-
fore doing so.

Table of Contents

Related product manuals