EasyManua.ls Logo

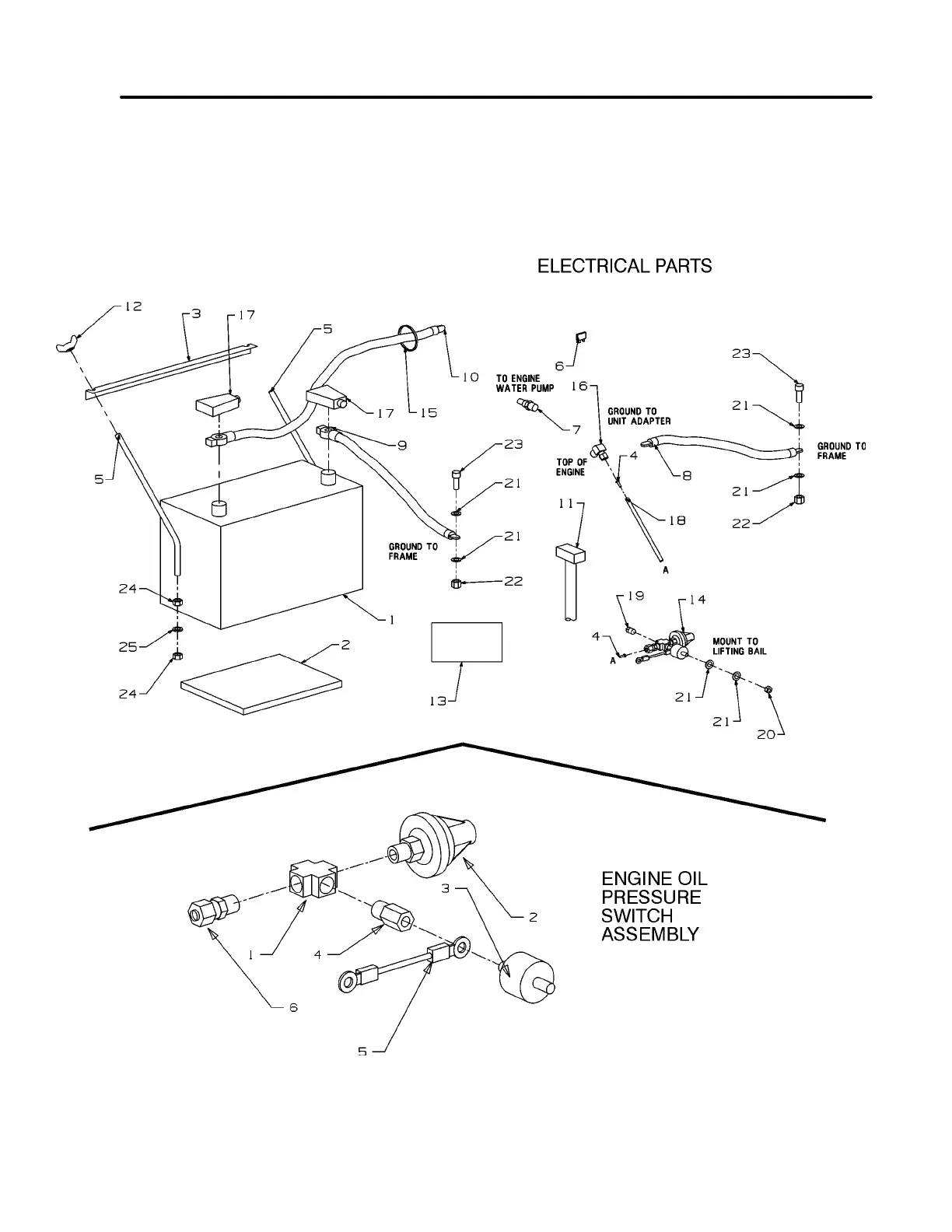
Sullair 175 - 7.9 A ELECTRICAL PARTS & ENGINE OIL PRESSURE SWITCH ASSEMBLY 175 MODELS

Sullair 175
100 pages
Print Icon
To Next Page IconTo Next Page
To Next Page IconTo Next Page
To Previous Page IconTo Previous Page
To Previous Page IconTo Previous Page
Loading...
Section 7
ILLUSTRATIONS AND PARTS LIST
70
7.9A ELECTRICAL PARTS & ENGINE OIL PRESSURE SWITCH ASSEMBLY -- 175 MODELS

Table of Contents

Related product manuals