EasyManua.ls Logo

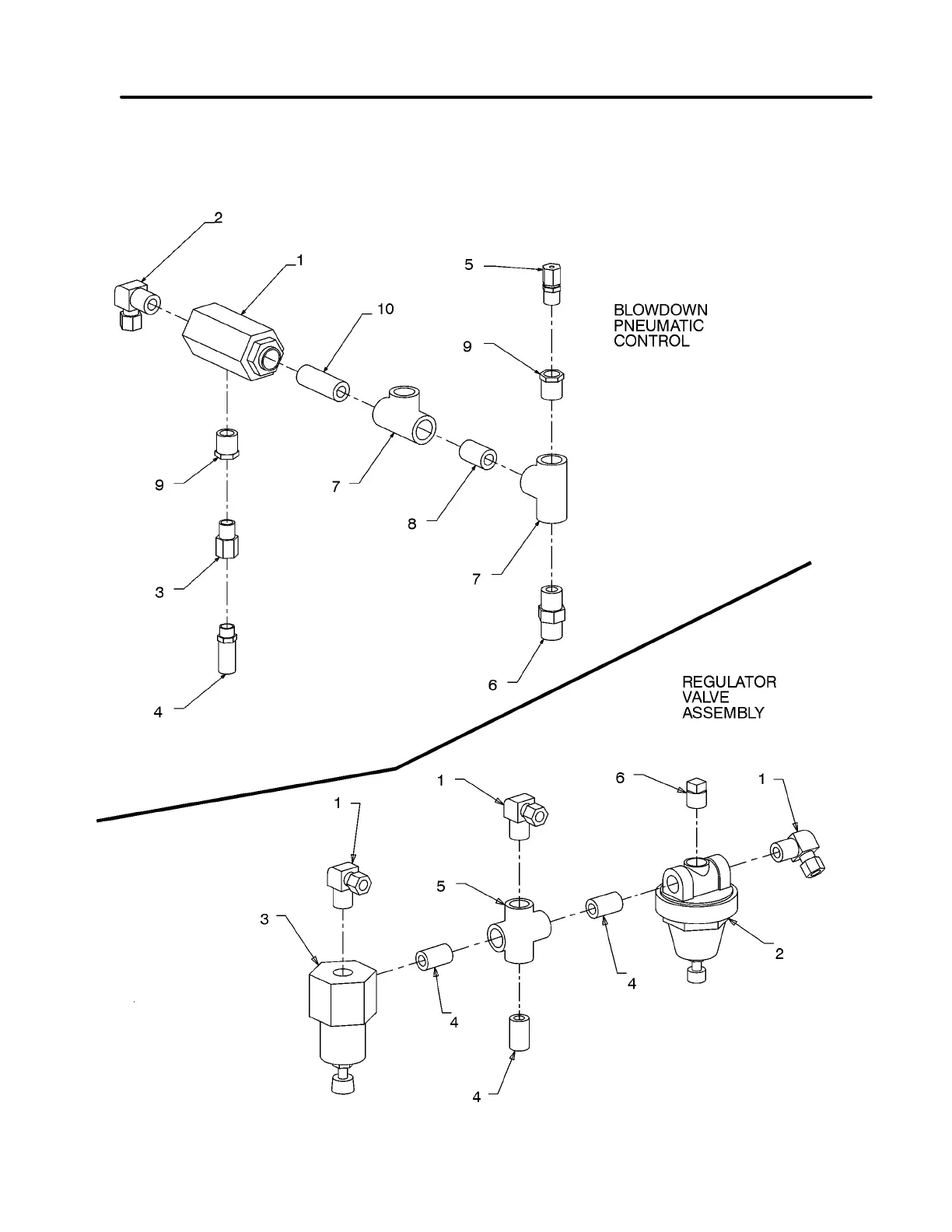
Sullair 175 - 7.8 BLOWDOWN PNEUMATIC CONTROLS & REGULATOR VALVE ASSEMBLY

Sullair 175
100 pages
Print Icon
To Next Page IconTo Next Page
To Next Page IconTo Next Page
To Previous Page IconTo Previous Page
To Previous Page IconTo Previous Page
Loading...
Section 7
ILLUSTRATIONS AND PARTS LIST
68
7.8 BLOWDOWN PNEUMATIC CONTROLS ( 175 & 185 MODELS) & REGULATOR VALVE
ASSEMBLY (185H MODELS)

Table of Contents

Related product manuals