EasyManua.ls Logo

SycoTec easyDive 4425 - Setpoint Value Selection

SycoTec easyDive 4425
60 pages
Print Icon
To Next Page IconTo Next Page
To Next Page IconTo Next Page
To Previous Page IconTo Previous Page
To Previous Page IconTo Previous Page
Loading...
EN
17
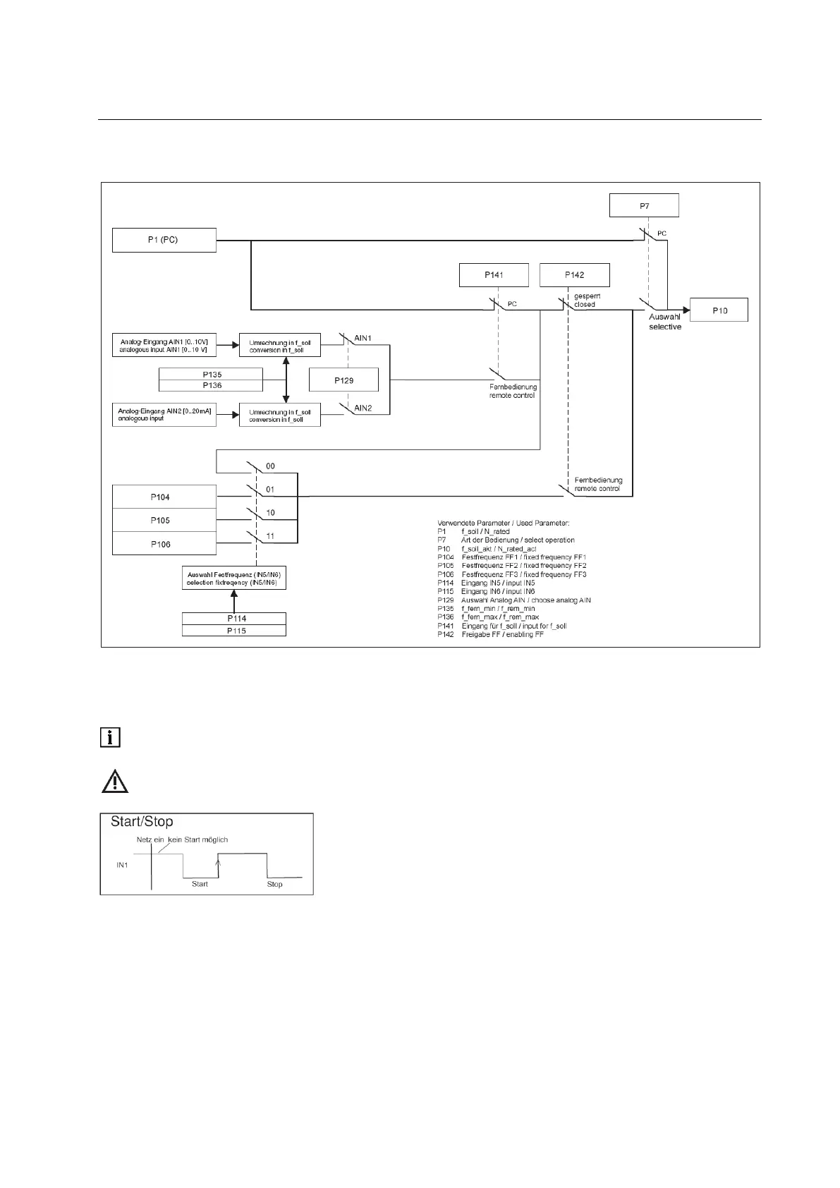
4.6 Setpoint Value Selection
The frequency setpoint value (speed setpoint value) can be predetermined by various sources, and the
mode of operation is shown in the following figure.
Picture: setpoint value selection
In order to use the setpoint value of the PC in P1-N_rated, the "PC application" is set to P7-select
operation. This enables the functions start/stop and assigned frequency to be controlled via the PC.
Following a power failure, an automatic start by the installed start signal at IN1 is prevented. A flank at
the start entry is necessary.
When starting via the PC, FB IN1 (P110) must be placed at "Off".
Alternatively, you can adjust P7-select operation to "selection"; P141-input for f_soll to “PC application" ;
and P142-enabling FF to “blocked".
In order to use the setpoint value from analogue input AIN1 or AIN2, set P7-select operation to
"selection"; P141-input for f_soll to “remote control"; P142-enabling FF to “blocked" ; and P129-choose
analog AIN to the desired analogue input. The scale of the analogue inputs is carried out via P135-
f_rem_min and P136-f_rem_max.

Table of Contents

Related product manuals