EasyManua.ls Logo

Tascam 122 - Page 31

Tascam 122
64 pages
Print Icon
To Next Page IconTo Next Page
To Next Page IconTo Next Page
To Previous Page IconTo Previous Page
To Previous Page IconTo Previous Page
Loading...
122
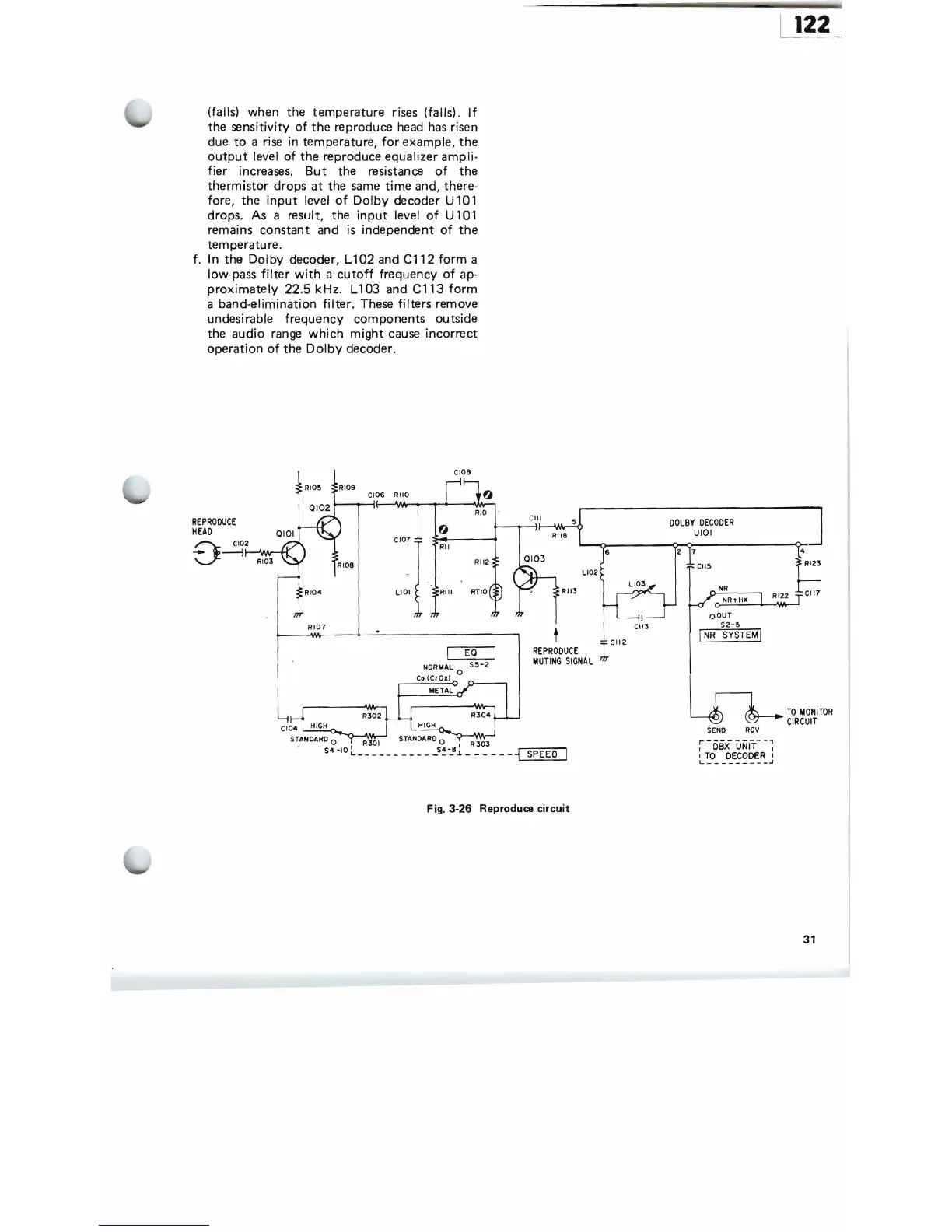
(falls) when the temperature rises (falls).
If
the sensitivity
of
the
reproduce
head
has
risen
due
to
a
rise
in temperature,
for
example,
the
output
level
of
the
reproduce equalizer ampli-
fier
increases.
But
the resistance
of
the
thermistor
drops
at
the
same
time
and, there-
fore, the
input
level
of
Dolby
decoder U
101
drops. As a result, the
input
level
of
U 1
01
remains constant and
is
independent
of
the
temperature.
f. In the
Dolby
decoder,
L102
and C112
form
a
low-pass
filter
with
a
cutoff
frequency
of
ap-
proximately
22.5 kHz.
Ll03
and
Cl13
form
a band-elimination
filter.
These filters remove
undesirable frequency components outside
the audio range
which
might
cause
incorrect
operation
of
the
Dolby
decoder.
CIOB
CI06
RIIO
RIOB
CII2
CII3
DOLBY
DECODER
UIOI
RIO
CIII
REPRODUCE
HEAD
RIIB
CIO?
U
CI02
6
2 ?
--
----'l
f-'W-r--+r
QI03
RI23
RI03
RII2
LI02
RII3
LIOI
CII?
RIO?
t
REPRODUCE
T
MUTING
SIGNAL
h
EO
NORMAL 0
55-2
Co
(CrOI)
METAL
(ot~.
TO
MONITOR
CIRCUIT
SENO
RCV
i-i5B£UNIY-~
SPEED
I
TO
DECODER
I
l..
_________
.J
Fig. 3-26 Reproduce
circuit
4
31

Related product manuals