EasyManua.ls Logo

Taski swingo 350B - Akumulatori

Taski swingo 350B
390 pages
Go to English
To Next Page IconTo Next Page
To Next Page IconTo Next Page
To Previous Page IconTo Previous Page
To Previous Page IconTo Previous Page
Loading...
224
Akumulatori
Atbilstošie akumulatori
Iekārtas ekspluatācijā jāizmanto vilces akumulatori (neizman-
tojiet slapjos, starteru vai ierīču darbināšanas akumulatorus).
Ieteicams izmantot specializētos vilces akumulatorus. Tikai
tie nodrošina lielu izmantošanas ilgumu.
Vilces akumulatori tiek ražoti kā slēgti bezapkopes akumula-
tori (VRLA), (gela, AGM, PureLead, litija). Iekārta ir atbilstoši
jāpielāgo katram akumulatora uzbūves veidam un ražotājam.
Katrs akumulators nodrošina citu izmantošanas ilgumu un
jaudas rādītājus.
Pēc akumulatoru iebūves vai akumulatora tipa un/vai ražotāja
maiņas, kā apirms iekārtas palaides ir jāveic iekārtas un uz-
lādes ierīces programmēšana.
Kļūdaini iestatījumi var būt priekšlaicīgas akumulatoru sabojā-
šanās iemesls.
Drošības pasākumi darbā ar akumulatoriem
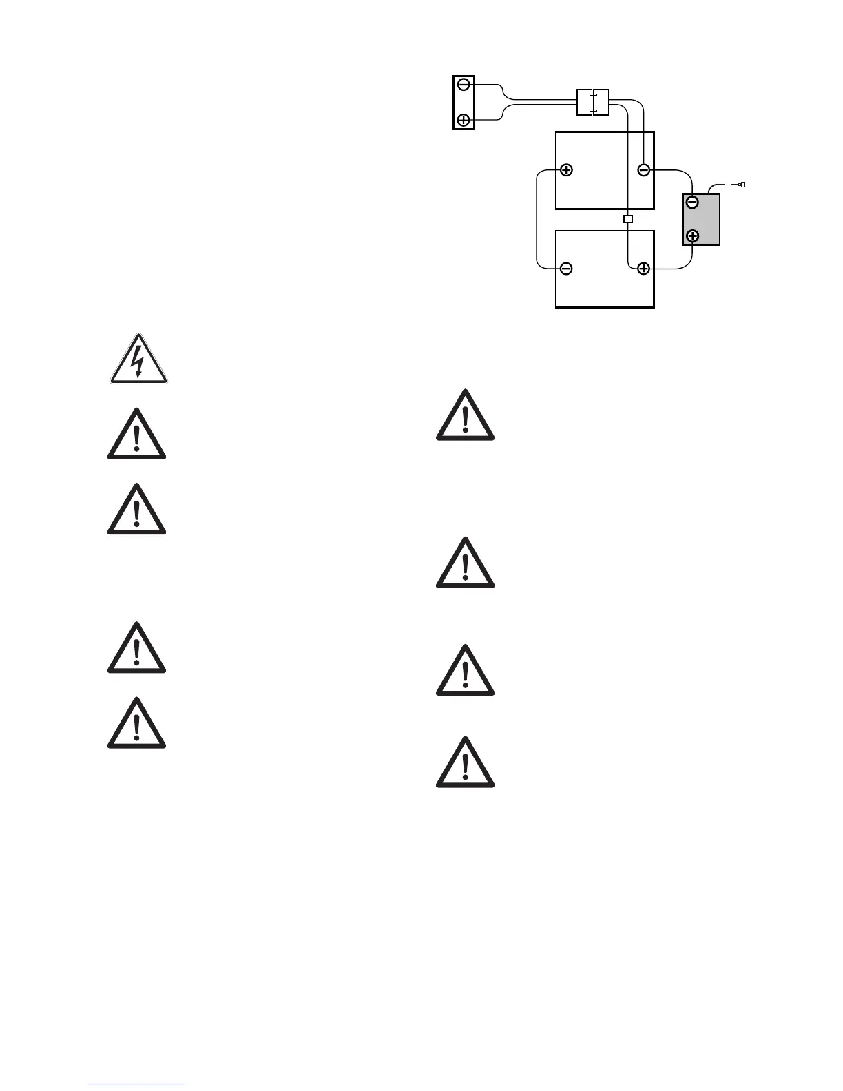
Akumulatoru pieslēgšanas shēma
Uzlādes process
Katram akumulatoru tipam un/vai akumulatoru ražotājam ir at-
šķirīgs uzlādes grafiks.
Atsevišķi pasūtāmie iebūvētie dētāji ir pielāgoti akumulatoru
parametriem un tajos ir vairāku uzlādes grafiku funkcijas, ku-
ras TASKI apkopes centra tehniķi atbilstoši ieteicamajiem
akumulatoriem iestata jau rūpnīcā. Šie noteikumi ir spēkā arī
tad, ja tiek izmantots stacionārais (ārējais) lādētājs.
Uzmanību! Akumulatoru poli vienmēr
atrodas zem sprieguma, tāpēc neno-
vietojiet uz akumulatora nekādus
priekšmetus.
Uzmanību!
Uzturiet akumulatorus tīrus un sausus.
Uzmanību!
Akumulatorus drīkst uzstādīt un pieslēgt
atbilstoši pieslēguma shēmai tikai Diver-
sey sertificēti klientu apkalpošanas centru
darbinieki vai speciālisti. Kļūmes uzstādī-
šanā vai pieslēgšanā var būt smagu savai-
nojumu, sprādziena un lielu mašīnas un
vides bojājumu rašanās iemesls.
Uzmanību!
Ievērojiet arī akumulatora ražotāja sniegto
ekspluatācijas noteikumu prasības.
Uzmanību!
Akumulatoru apkopes darbu laikā tiem jā-
būt atvienotiem no mašīnas!
Uzmanību!
Neatbilstoša uzlādes grafika vai lādētāja
izmantošana izraisa akumulatora priekš-
laicīgu vai ātrāku sabojāšanos.
Uzmanību!
Ilgstoša akumulatora lietošana un lādēša-
na īslaicīgos laikposmos var izraisīt tā bo-
jājumus. Orientējošā robežvērtība: uzlādi
nevajadzētu veikt, pirms akumulators nav
izlādējies par 20% kopējās ietilpības.
Uzmanību!
Lai nodrošinātu vilces akumulatoru iespē-
jami ilgu kalpošanas laiku, tie divreiz nedē-
ļā ir jāuzlādē atbilstoši pilnam uzlādes
ciklam (12–16 stundas).
Uzmanību!
Pirms ilgākas mašīnas neizmantošanas
akumulatori ir jāuzlādē atbilstoši pilnam
uzlādes ciklam. Pēc tam lādētājs ir jāatvie-
no no mašīnas, tas ir, no elektrotīkla. Aku-
mulatori laika gaitā izlādējas. Atkarībā no
akumulatoru veida tie atkārtoti jāuzlādē ik
pēc 3–6 mēnešiem. Pirms katras palaides
akumulatori ir jāuzlādē atbilstoši pilnam
uzlādes ciklam.
12 V
12 V
red
black
Battery
plug
Power Board
Charger
50A

Table of Contents

Other manuals for Taski swingo 350B

Related product manuals