EasyManua.ls Logo

Terex TL80 - Assembly of Work Attachments

Terex TL80
114 pages
Print Icon
To Next Page IconTo Next Page
To Next Page IconTo Next Page
To Previous Page IconTo Previous Page
To Previous Page IconTo Previous Page
Loading...
Working Operation of the machine 5
TL80 57
5.3.2 Assembly of work attachments
The bearings on the lifting frame, quick-
attach system and work attachment must
be free of dirt.
The system must be relieved of pressure
before hydraulic connections are
disconnected.
Procedure for changing directly mounted work
attachments
If an attachment is hydraulically
operated, disconnect the hydraulic
connection first of all (system must be
without pressure).
Lower the work attachment onto the ground and
position so that it cannot tilt.
Remove the pin of the linkage and the pin of the
lift frame.
Move the lift frame out of the work attachment
and install a new one.
Procedure for changing work attachments with
mechanical quick-attach system
If an attachment is hydraulically
operated, disconnect the hydraulic
connection first of all (system must be
without pressure).
Lower the work attachment onto the ground
and position so that it cannot tilt.
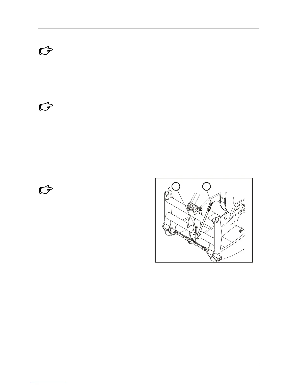
Raise pin (24/2) and open the quick-mount
hitch using the control rod (24/1) until the
locking bolts are completely retracted.
Check the function of the quick-attach
system lock and grease the pins if
necessary.
Attach another work attachment and close the
quick-mount hitch until the locking bolts are
completely extended and the lock clicks in.
Ensure that the work attachment and the lock
are properly seated.
The control rod is kept in the left-hand storage
box in the cab.
L823B22
12
Fig. 24 Quick-attach system

Table of Contents

Related product manuals