EasyManua.ls Logo

Terex TL80 - Hydraulic Oil Cooler

Terex TL80
114 pages
Print Icon
To Next Page IconTo Next Page
To Next Page IconTo Next Page
To Previous Page IconTo Previous Page
To Previous Page IconTo Previous Page
Loading...
7 Maintenance and Care
88 TL80
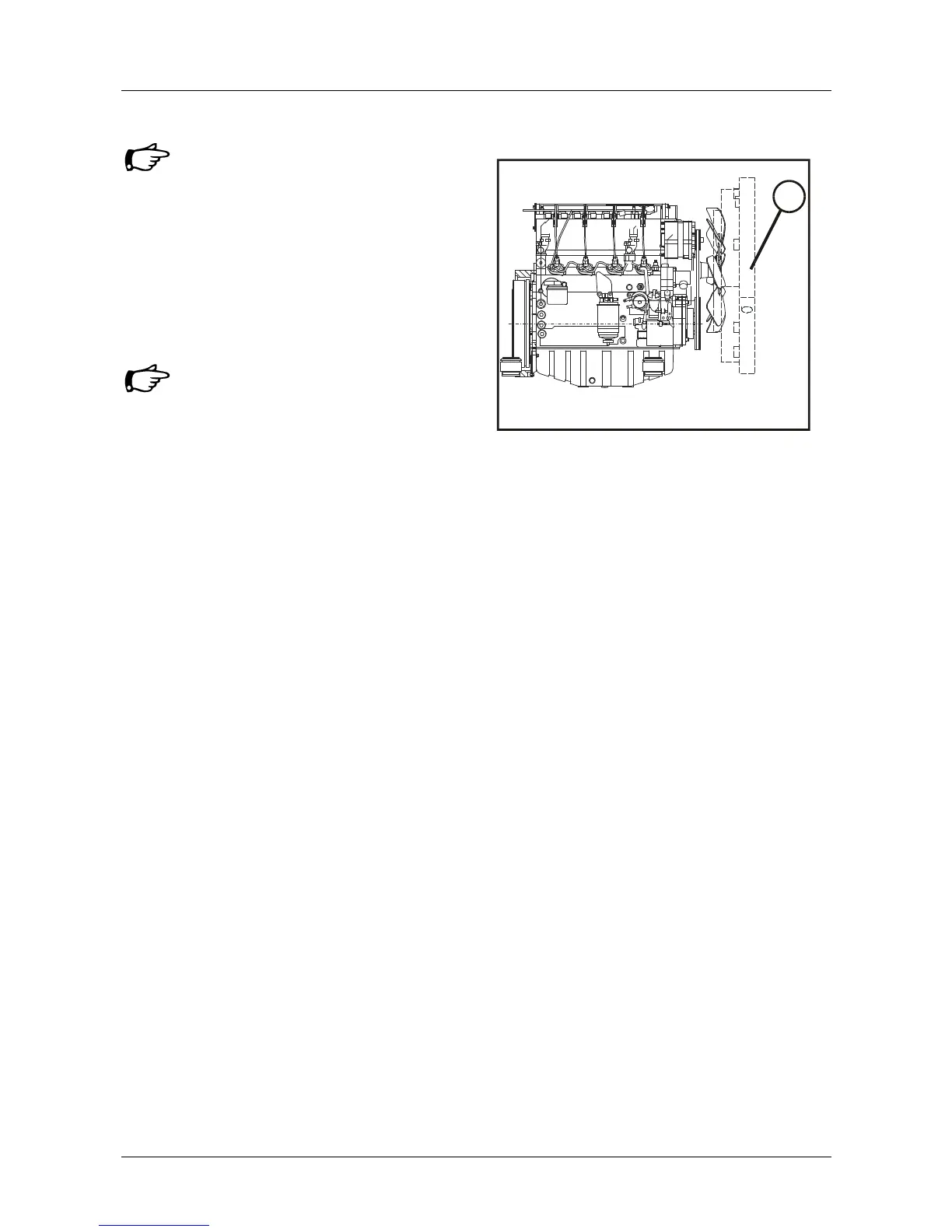
7.9.10 Hydraulic oil cooler
Dirt accumulation in coolers causes the
hydraulic oil to overheat.
Only perform cleaning after stopping the
engine and letting it cool down
The machine is equipped with a combined radiator
and hydraulic oil cooler. Both cooler components
must be cleaned during maintenance (see also
Chap. 7.9.3)
Clean the cooler components (52/1) by blowing
it out with compressed air from the air
discharge side.
If necessary, clean with cold cleaner or
steam jet device with oil separator over a
suitable surface. Do not spray generator
directly with water or jet stream while
doing so.
Run engine hot afterward to prevent
formation of rust.
L824-037
1
Fig. 52 Hydraulic oil cooler

Table of Contents

Related product manuals