EasyManua.ls Logo

Texas Instruments TI-84 Plus T - Page 8

Texas Instruments TI-84 Plus T
60 pages
Print Icon
To Next Page IconTo Next Page
To Next Page IconTo Next Page
To Previous Page IconTo Previous Page
To Previous Page IconTo Previous Page
Loading...
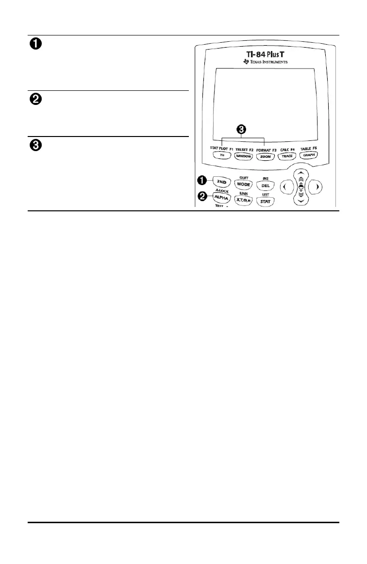
4 Keyboard Basics
Function Keys
y
Access the second function
printed to the left above each
key.
ƒ
Access the third function printed
to the right above each key.
ƒ
^ -
a
Access shortcut menus for
fraction templates, n/d, quick
matrix entry, select MATH
menus, and VARS menu
functions.

Table of Contents

Related product manuals