EasyManua.ls Logo

UTICA BOILERS USC - Replacement Parts: Air Box Covers; Air Box Cover and Adapter Parts

UTICA BOILERS USC
28 pages
Print Icon
To Next Page IconTo Next Page
To Next Page IconTo Next Page
To Previous Page IconTo Previous Page
To Previous Page IconTo Previous Page
Loading...
USC SERIES REPLAUSC SERIES REPLA
USC SERIES REPLAUSC SERIES REPLA
USC SERIES REPLA
CEMENT PCEMENT P
CEMENT PCEMENT P
CEMENT P
ARAR
ARAR
AR
TSTS
TSTS
TS
AIR BOAIR BO
AIR BOAIR BO
AIR BO
X COX CO
X COX CO
X CO
VERSVERS
VERSVERS
VERS
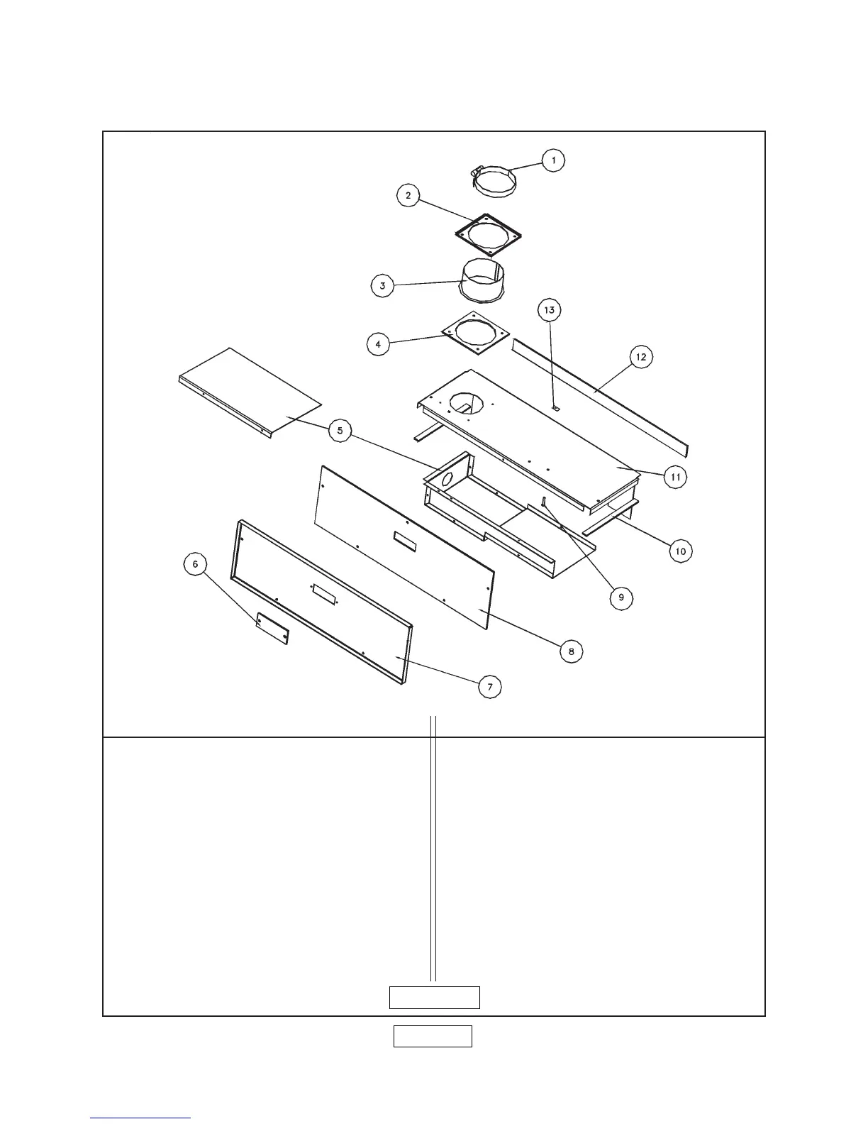
PAGE 21
FIGURE 23
1 HW10301 HOSE CLAMP SST USC 1
2 3271601 AIR INTAKE ADAPTER 1
3 3271203 AIR INTAKE SLEEVE 1
4 3271701 AIR INTAKE ADAPTER INSUL 1
5 3271301 AIR DEFLECTOR USC3 1
32721501 INTAKE BOX ASSY USC4
32721502 INTAKE BOX ASSY USC5
6 3571201 BASE OBS. WINDOW 1
7 3272701 AIR BOX FRT PNL ASSY USC31
3272702 AIR BOX FRT PNL ASSY USC4
3272703 AIR BOX FRT PNL ASSY USC5
(INCLUDES OBS. WINDOW, #9, & INSUL #11)
ITEM# PART # DESCRIPTIONS QTY. ITEM# PART # DESCRIPTION QTY.
8 3572401 INSUL FRT COV. USC3 1
3572402 INSUL FRT COV. USC4
3572403 INSUL FRT COV. USC5
9 HW10001 AIR BOX TAP 2230 RL 1
10 3572304 INSUL AIR BOX COVER 2
11 3272401 AIR BOX COVER ASSY USC3 1
3272402 AIR BOX COVER ASSY USC4
3272403 AIR BOX COVER ASSY USC5
(INCLUDES INSULATION #12 & # 13,
AND AIR BOX TAP #6 & WASHER #7)
12 3572301 INSUL AIR BOX COV. USC3 1
3572302 INSUL AIR BOX COV. USC4
3572303 INSUL AIR BOX COV. USC5
13 HW09901 LOCK WASHER 1

Related product manuals