EasyManua.ls Logo

Vaisala WINDCAP WS425 - Figure 9 Frequency Connection; Figure 10 Wind Speed

Vaisala WINDCAP WS425
86 pages
Print Icon
To Next Page IconTo Next Page
To Next Page IconTo Next Page
To Previous Page IconTo Previous Page
To Previous Page IconTo Previous Page
Loading...
USER'S GUIDE____________________________________________________________________
36 __________________________________________________________________ M210361EN-E
0212-039
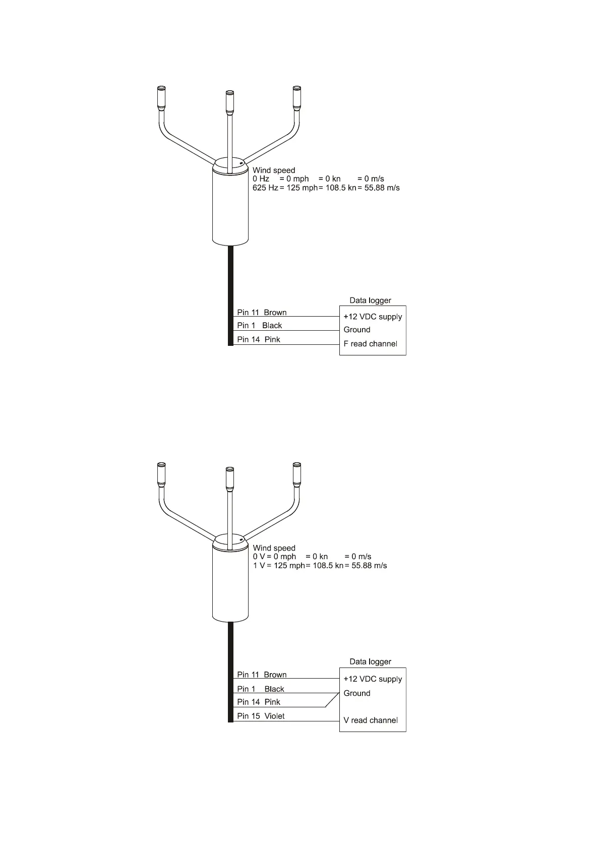
Figure 9 Frequency Connection
The wind speed output at pin 15 is a voltage that varies linearly from 0
VDC at 0 mph to 1 VDC at 125 mph. In SI units, the voltage varies
linearly from 0 VDC at 0 m/s to
1 VDC at 55.88 m/s.
0212-038
Figure 10 Wind Speed

Table of Contents

Related product manuals