EasyManua.ls Logo

Vantage Controls STAT - Page 20

Default Icon
41 pages
Print Icon
To Next Page IconTo Next Page
To Next Page IconTo Next Page
To Previous Page IconTo Previous Page
To Previous Page IconTo Previous Page
Loading...
Page 20
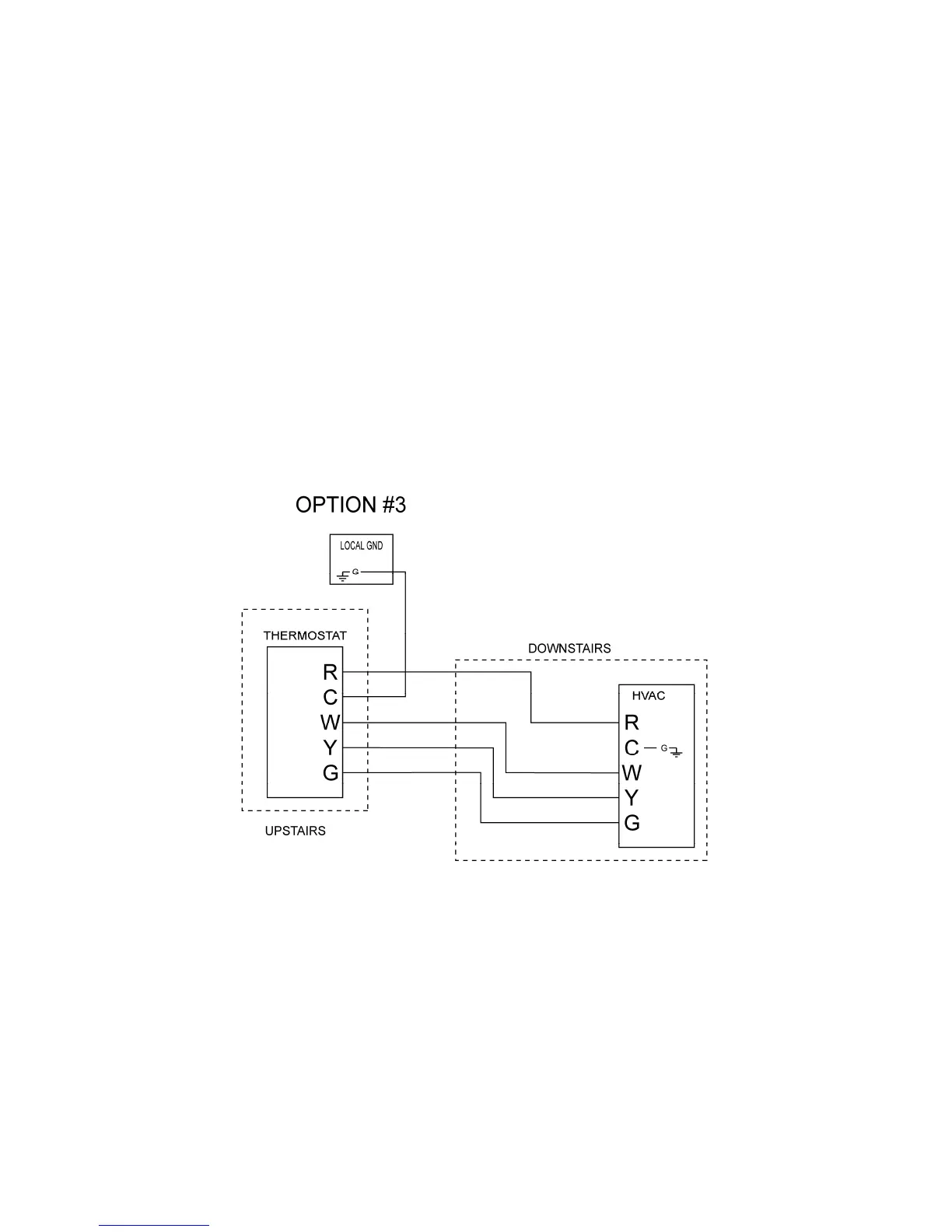
Option 3: Use a Local Ground Connection
A third option when a ground (common) wire is not available at the thermostat in retrofit cases is to
pull a new wire to connect the C terminal on the thermostat to the closest available household
ground. This will work in most cases because the common of the transformer in the HVAC
equipment is also typically tied to household ground. If the HVAC equipment transformer is not tied
to ground, the thermostat will not function.
Note: This Option is less desirable. It should be used with caution and connected by a qualified
technician.