EasyManua.ls Logo

VAT 642 Series - Page 35

Default Icon
119 pages
To Next Page IconTo Next Page
To Next Page IconTo Next Page
To Previous Page IconTo Previous Page
To Previous Page IconTo Previous Page
Loading...
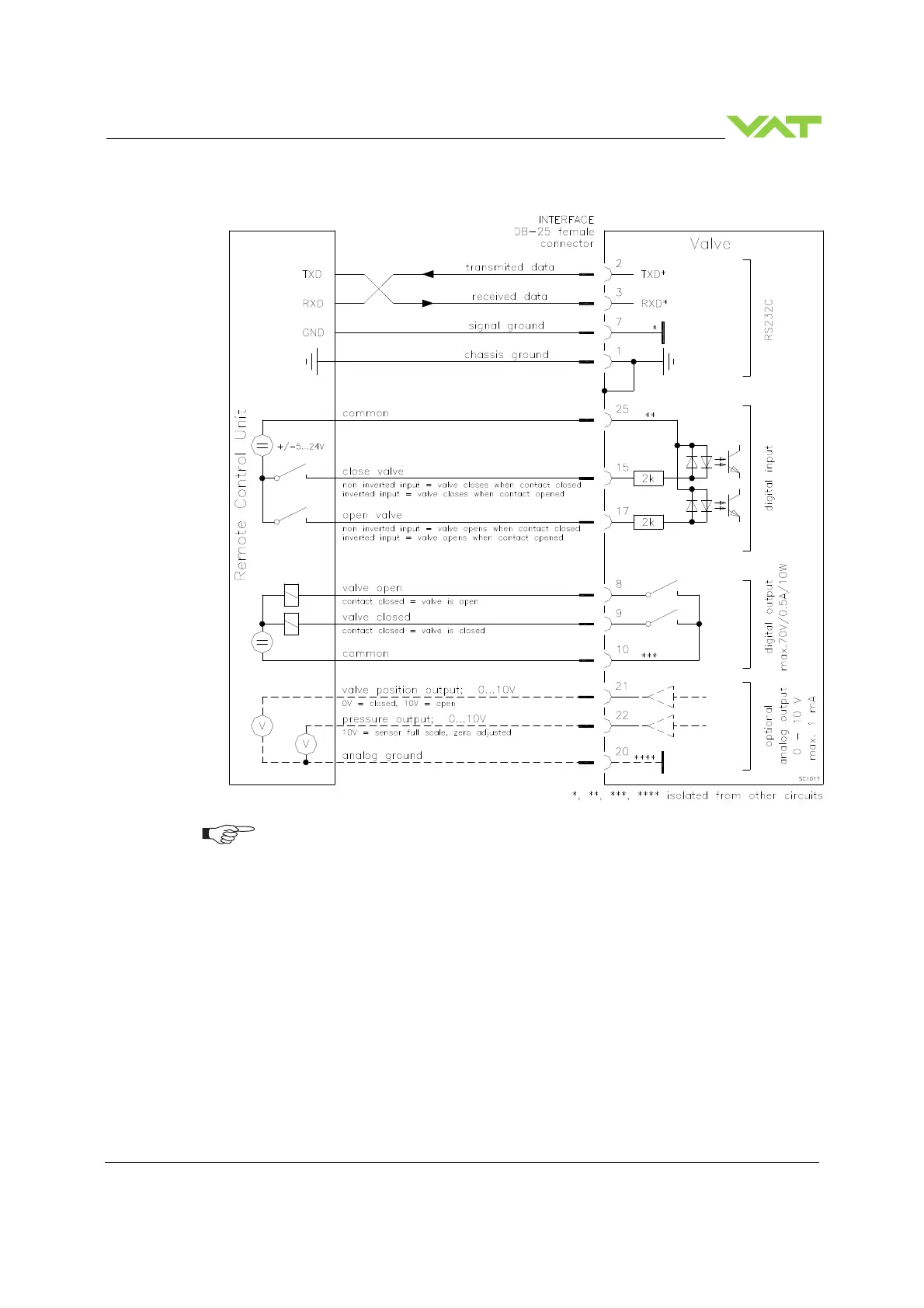
Series 642 INSTALLATION
742280ED Edition 2017-11-24 35/
119
b) Configuration with voltage source for digital inputs:
Do not connect other pins than indicated in the schematics above! Use only screws
with 4-40UNC thread for fastening the DB-25 connector!

Table of Contents

Other manuals for VAT 642 Series

Related product manuals