EasyManua.ls Logo

Venmar PRO225 - 3 Description of the Unit

Venmar PRO225
24 pages
Print Icon
To Next Page IconTo Next Page
To Next Page IconTo Next Page
To Previous Page IconTo Previous Page
To Previous Page IconTo Previous Page
Loading...
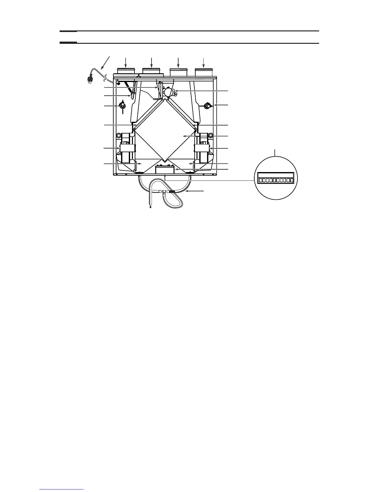
3. DESCRIPTION OF THE UNIT
6
VL0035
16
14
8
11
9
3 214
10
9
11
8
13
12
6
5
7
12
15
1 Exhaust port: exhausts stale air to the outside, after the air has transferred its
heat inside the heat recovery core.
2 Fresh air port: brings fresh air from the outside into the unit.
3 Stale air intake port: is connected to the registers located in the larger rooms of the
house.
4 Distribution port: distributes fresh air into the house, after it has absorbed the
heat of the stale air in the heat recovery core.
5 Main damper: allows fresh air intake when open and defrost when closed.
6 Secondary damper: allows stale air to exhaust when open and prevents negative
pressure when closed, in defrost mode.
7 Automatic defrost
unit :
consists of one damper actuator, dampers and related controls.
The defrost cycle is electronically controlled in response to the
outside temperature (-5°C [23°F] to -27°C [-17°F] or coldest)
and will increase in frequency as the temperature decreases.
Its duration is of 7 or 10 minutes.
8 Adjusting tools (2): adjust the dampers (one on each side) in balancing process.
Lock them in place once the unit is balanced.
9 Mechanical filters (2): trap the dust contained in the air and prevents the heat
recovery core from becoming obstructed.
10 Heat recovery core: is a crossflow type. It transf ers the heat between the two air
streams.
11 Blowers (2): dra w fresh air from the outside and exhaust stale air to the outside .
12 Condensation tray: is used to capture the water produced during heat transfer and
defrost (in cold climate).
13 Electrical cord: for 120 V electrical supply.
14 Electrical box: contains capacitors (indispensable to proper motors operation)
and electronic control circuit (insures proper operation of the
unit).
15 Terminal connector: located under the unit, allows to connect the controls.
16 Drainage tube: is connected to the condensation tray and serves to drain the
water accumulation.

Related product manuals