EasyManua.ls Logo

Vicpas UniOP ePAD05 - Battery Replacement; Replacing the UniOP Panel Battery

Default Icon
63 pages
Print Icon
To Next Page IconTo Next Page
To Next Page IconTo Next Page
To Previous Page IconTo Previous Page
To Previous Page IconTo Previous Page
Loading...
UniOP
46
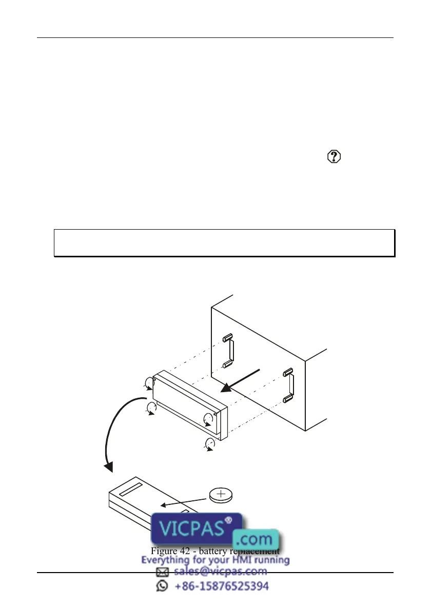
Battery Replacement
Some models require the use of the lithium battery for data back-up.
The following information is maintained by the battery:
hardware real-time clock (date and time)
event list
recipe data
UniOP panels signal the battery status in more than one way:
blinking of the LED indicator FAULT or FLT (when available) or
with the ‘Battery’ field in System Menu (BATTERY OK or LOW)
with the value of the S6 bit in the RDA
When the panel signals that the battery is low, you should replace the battery as soon
as possible.
Note: Replacing the battery will cause the loss of the data maintained by the
battery.
To replace the battery, follow the procedure listed below:
Battery
Figure 42 - battery replacement