EasyManua.ls Logo

Visonic PowerMaster-10 G2 - 3.6 Adding Wired Zones or PGM Device

Visonic PowerMaster-10 G2
74 pages
To Next Page IconTo Next Page
To Next Page IconTo Next Page
To Previous Page IconTo Previous Page
To Previous Page IconTo Previous Page
Loading...
OPERATING THE POWERMASTER SYSTEM
D-304829 PowerMaster-10/30 G2 User's Guide 11
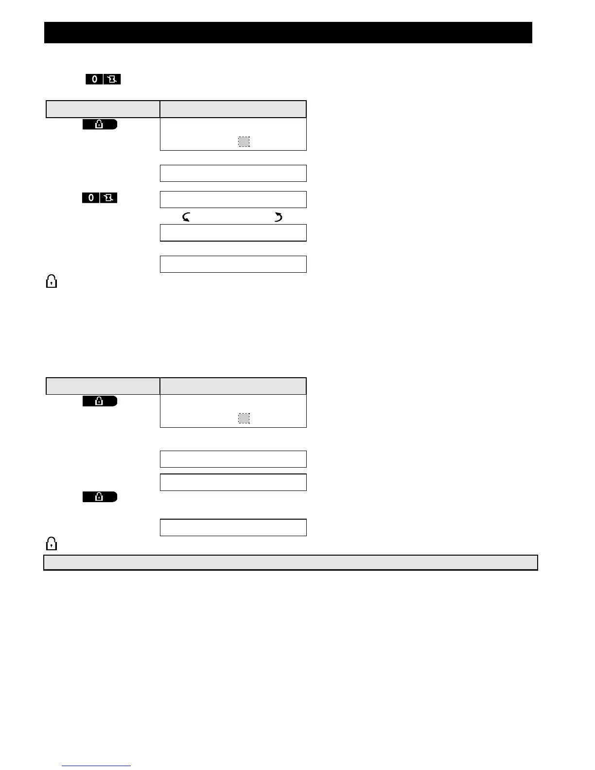
Arming AWAY or HOME ‘Instant’
Pressing during the exit delay will arm the system in the "Instant' mode, i.e. without an entry delay.
Therefore, any detection in any zone will trigger an immediate alarm. To arm AWAY-INSTANT, proceed as follows.
PRESS RESULTING DISPLAY
PRESENT TAG OR
ENTER CODE _ _ _ _
Code
ARMING AWAY
ARMING INSTANT
(alternating)
PLEASE EXIT NOW
Vacate the premises
(Exit delay)
AWAY
ARM indicator lights during the armed state.
Forced Arming AWAY or HOME
Forced arming allows you to arm the system even if the system is "NOT READY". Any open zones will be
bypassed for the duration of arming.
Note: When forced arming is carried out, the buzzer “protests” by emitting a continuous tone during the exit
delay until the last 10 seconds of the delay. You can silence this signal by pressing the arming button again.
If forced arming is enabled and you wish to arm the system when NOT READY is displayed, proceed as shown:
PRESS RESULTING DISPLAY
PRESENT TAG OR
ENTER CODE _ _ _ _
[Enter code] /
[Present tag]
Code / Present tag
ARMING AWAY
PLEASE EXIT NOW
(to mute the buzzer)
Vacate the premises
(Exit delay)
AWAY
ARM indicator lights during the armed state.
Remember: Forced arming compromises security!!

Table of Contents

Other manuals for Visonic PowerMaster-10 G2

Related product manuals