EasyManua.ls Logo

WAGNER T090 - T092.00 Pni

WAGNER T090
40 pages
Print Icon
To Next Page IconTo Next Page
To Next Page IconTo Next Page
To Previous Page IconTo Previous Page
To Previous Page IconTo Previous Page
Loading...
36
T090, T092.
8
13
7
3
19
4
5
1
9
12
16
10
11
2
14
6
15
17
10
5
21
15 Nm
C_00190
18
20
22
35 Nm
70 mm
50 mm
100 mm
130 mm
d 8,5 mm
20a
OPERATING MANUAL
EDITION 01 /2014 PART NO. ZZB022ENG
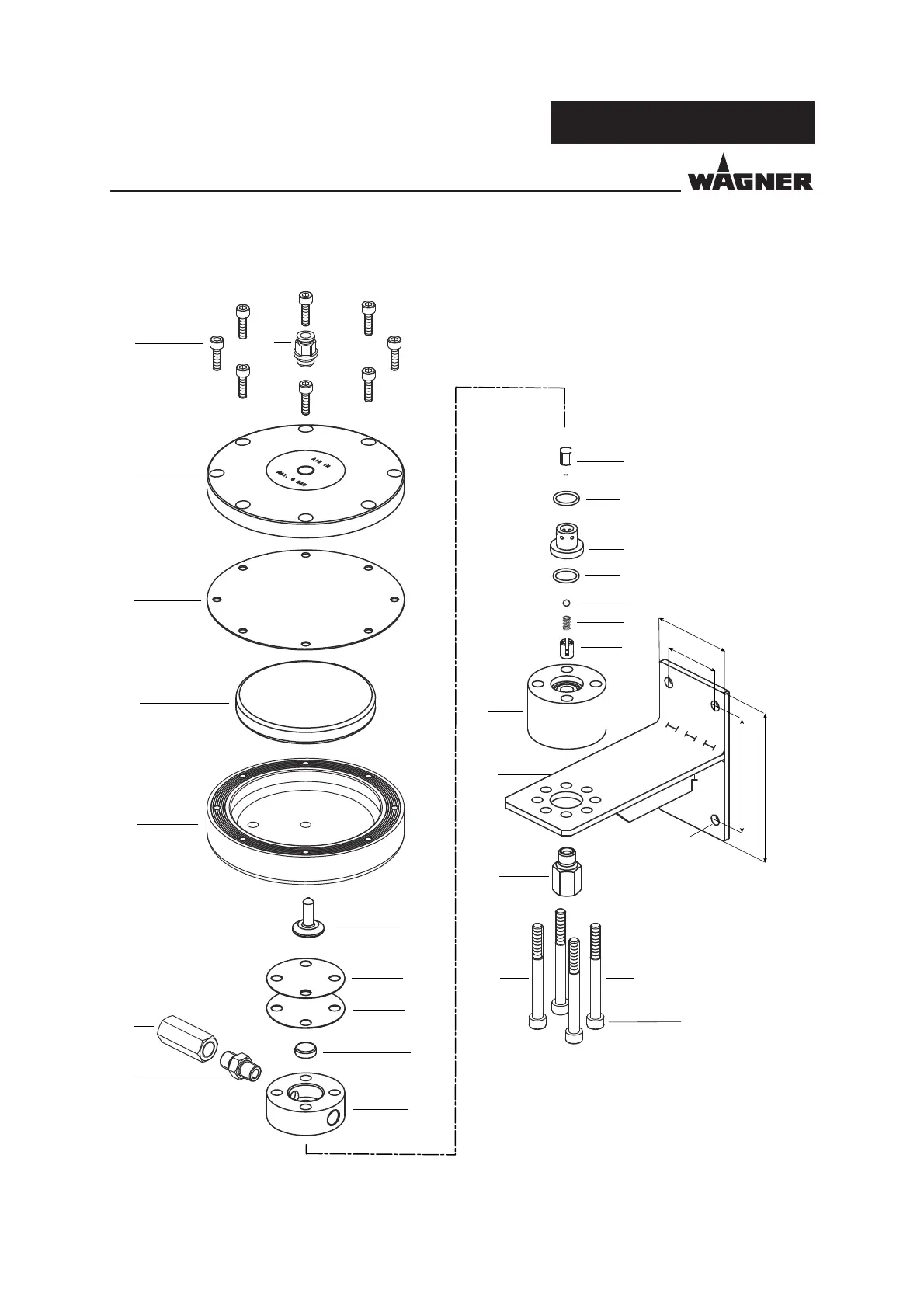
7.2.5 T092.00PNI

Related product manuals