EasyManua.ls Logo

Wascomat EX618co - Page 30

Wascomat EX618co
56 pages
Print Icon
To Next Page IconTo Next Page
To Next Page IconTo Next Page
To Previous Page IconTo Previous Page
To Previous Page IconTo Previous Page
Loading...
30
Installation
2
1
2
1
3
16
5339
15
5328
W/SU620,
W/SU625
W/SU630,
EX618,
EX625,
EX630
W/SU645,
W/SU662,
W/SU677,
EX645,
EX660
EX675
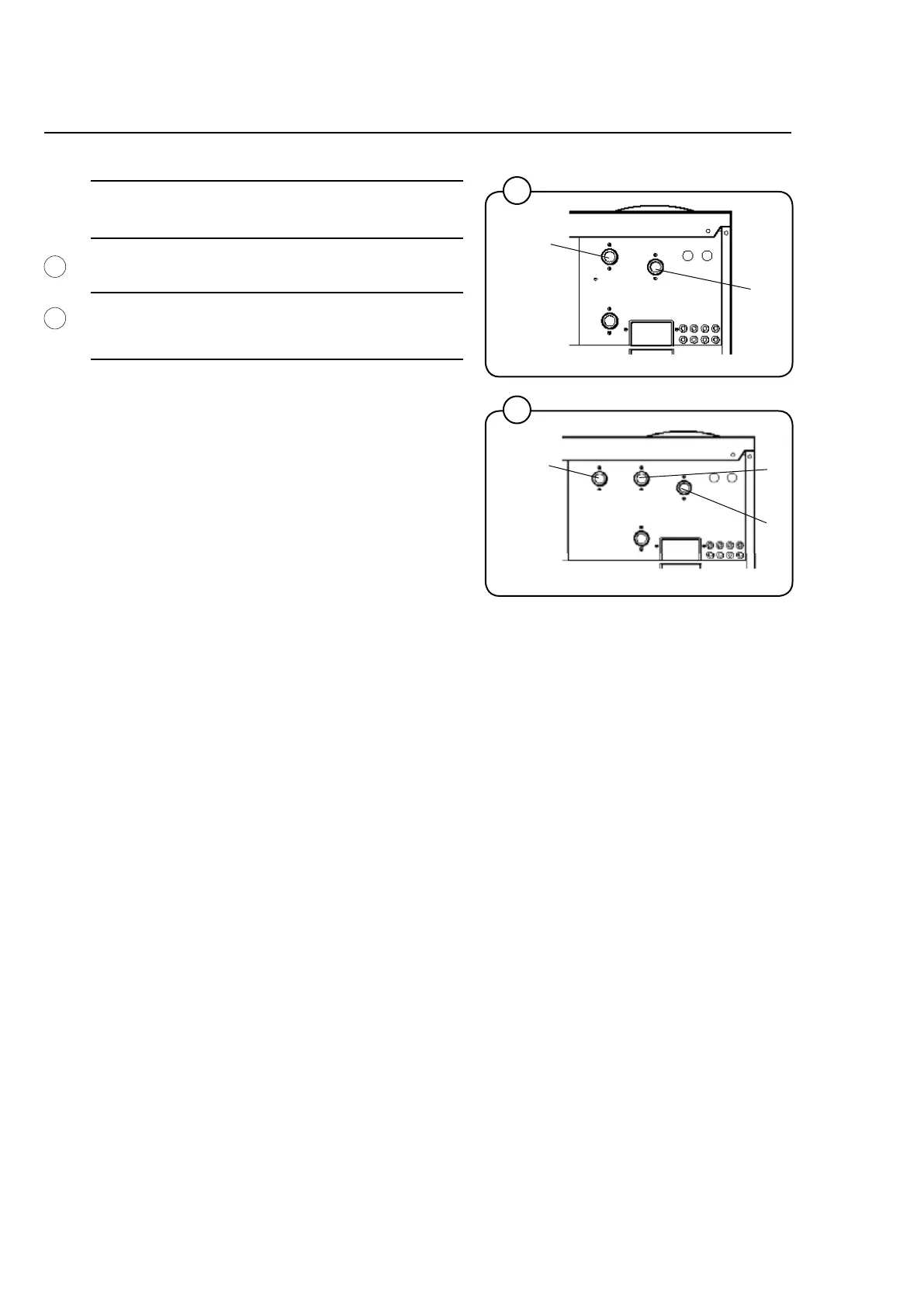
Water type Water connection
1 2 3
cold and
hot cold hot
cold and
hot cold hot cold*/
hot
* For detergent container.
Extra water valve which can be used for hard
water if soft water is connected to 1.
This valve can also be used for water reuse
from tank.
If pump is used, it is only a water connection
without valve.
15
16

Related product manuals