EasyManua.ls Logo

WattMaster Auto-Zone Plus - Page 161

Default Icon
180 pages
Print Icon
To Next Page IconTo Next Page
To Next Page IconTo Next Page
To Previous Page IconTo Previous Page
To Previous Page IconTo Previous Page
Loading...
Auto-Zone Plus Section 4
Start-Up and Troubleshooting 4-43
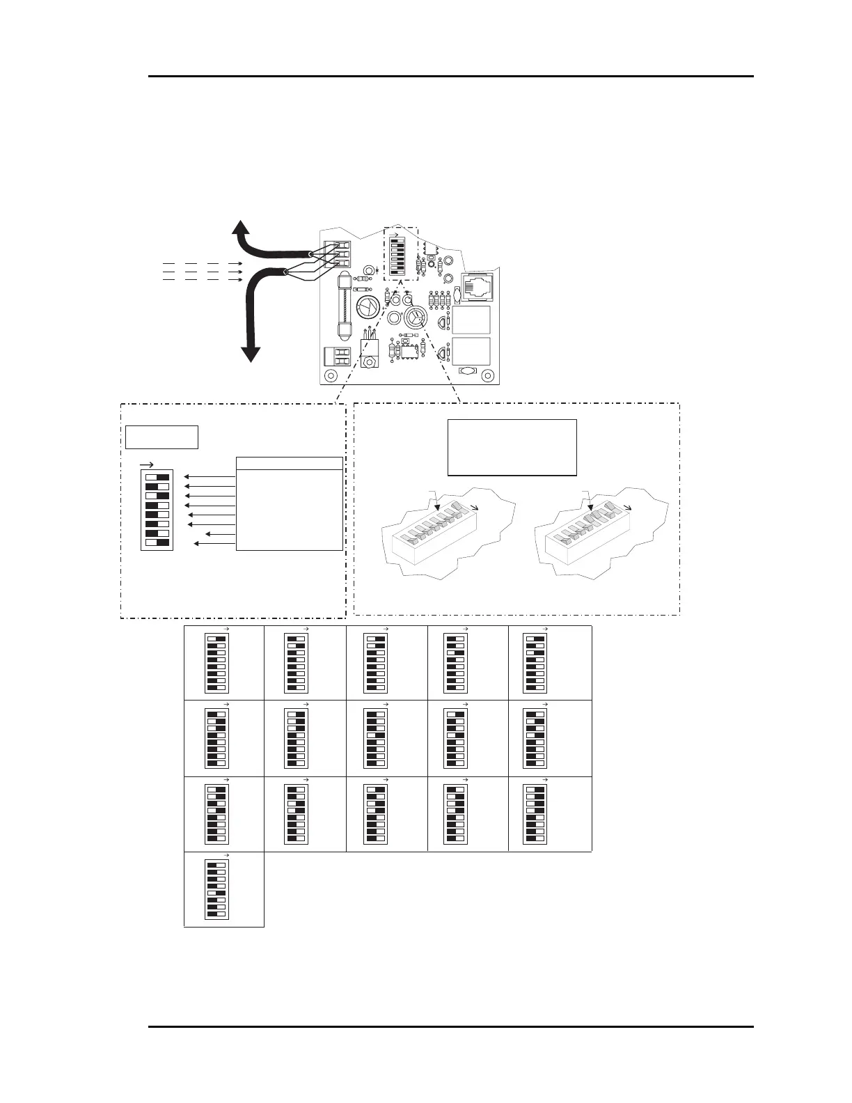
3.2.8 Setting the Zone Controller Address Switch
Figure 4-12: Zone Controller Address Switches
Address Switch Shown Is
Set For Address 1
Address Switch Shown Is
Set For Address 13
Controller
Address Switch
Controller
Address Switch
ADDRESS
ADD
ADDRESS
ADD
1
1
4
4
8
8
2
2
16
16
32
32
TOKEN
TOKEN
NET
NET
ADDRESS
ADD
SW1
1
1
2
2
4
4
8
8
16
16
32 (Always OFF- Not Used)
32
TOKEN
NET
TOKEN (Always OFF)
NET(Always ON)
Address Switch Values
Switch Shown Is
Set For Address 5
Note:
1.) Ignore Any Markings On The Switch Body.
2.) Use The Address Charts Below Or Address Switch
Value Table Above To Determine Correct Switch Setting.
3.) Power To Controller Must Be Turned Off And
Back On In Order For Switch Settings To Take Effect.
Zone Controller Address Switch SettingAddress Switch Values
Address Switch Values Are
Added Together When The
Rocker Is Pushed Down In
The Direction Of The “ADDRESS
ADD” Arrow Marked On The Zone
Controller Circuit Board
CX6
SW1
Q3
Q2
D3
VR1
7824
GND
24VAC
R17
R16
U7
C7
R15
POWER
R21
REV. 2
YS101
562
MDL
F1
250
D4
R26
LD3
L1
SCAN
REC
R12
C6
R11
TOKEN
NET
LD2
32
R14
R13
R100
LD1
C5
D1
K1
V2
K2
D2
ACTUATOR
R10
R9
PJ2
V1
C4
T
SHLD
R
8
16
2
4
ADDRESS
ADD
1
U6
2.)It Is Recommended That All
Controllers Address Switches Are
Set Before Installation.
3.)Power To The Zone Controller Must
Be Cycled Before Address Switch
Changes Will Take Affect.
RS-485
Communications To Next
Zone Controller
RS-485
Communications To Next
Zone Controller
Notes:
1.)AllCommunication Wiring To Be
2 Conductor Twisted Pair With
Shield. Use Belden #82760 Or
Equivalent.
R
SH
T
R
SH
T
R
SH
T
R
SH
T
All Comm Loop Wiring Is
Straight Thru
Local Loop
RS-485
9600 Baud
ADDRESS ADD ADDRESS ADD ADDRESS ADD ADDRESS ADD ADDRESS ADD
ADDRESS ADD ADDRESS ADD ADDRESS ADD ADDRESS ADD ADDRESS ADD
ADDRESS ADD ADDRESS ADD ADDRESS ADD ADDRESS ADD ADDRESS ADD
ADDRESS ADD
SW1 SW1 SW1 SW1 SW1
SW1 SW1 SW1 SW1 SW1
SW1 SW1 SW1 SW1 SW1
SW1
1111
11111
11111
1
22222
22222
22222
2
44444
44444
44444
4
88888
88888
88888
8
16 16 16 16 16
16 16 16 16 16
16 16 16 16 16
16
32 32 32 32 32
32 32 32 32 32
32 32 32 32 32
32
TOKEN TOKEN TOKEN TOKEN TOKEN
TOKEN TOKEN TOKEN TOKEN TOKEN
TOKEN TOKEN TOKEN TOKEN TOKEN
TOKEN
NETWORK NETWORK NETWORK NETWORK NETWORK
NETWORK NETWORK NETWORK NETWORK NETWORK
NETWORK NETWORK NETWORK NETWORK NETWORK
NETWORK
1
6
11
16
12
13
14
15
2
7
3
8
4
9
5
10
firealarmresources.com

Table of Contents

Related product manuals