EasyManua.ls Logo

Whirlpool W3MS450 - Preheat Mode

Whirlpool W3MS450
89 pages
Print Icon
To Next Page IconTo Next Page
To Next Page IconTo Next Page
To Previous Page IconTo Previous Page
To Previous Page IconTo Previous Page
Loading...
23
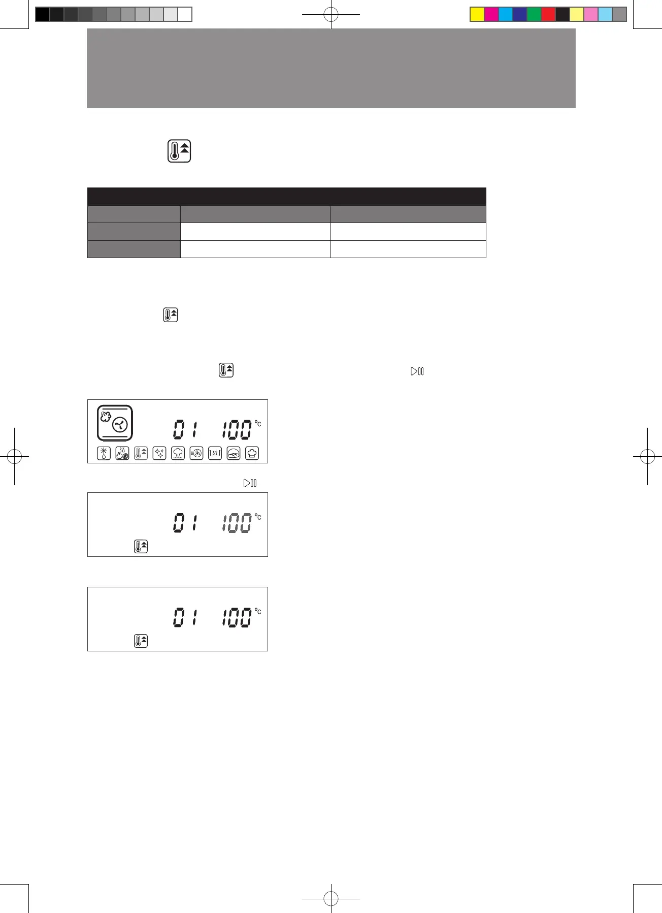
預熱模式有蒸氣和烤焗兩種預熱模式選擇,使爐腔達至預設溫度
蒸氣預熱 烤焗預熱
溫度 溫度
開機預 100°C 180°C
設定範
50°C - 110°C 100°C - 230°C
兩種預熱功能的烹調時間均毋需設定;當達到設定的預熱溫度時,會發出聲效提示操作已完成。
預熱進行中,顯示之時間為現在時間如進行蒸氣預熱,每次使用前,請確保水箱已加滿水。
例如:以蒸氣進行預熱,設置烹調溫度為 100°C。
操作步驟:
1. 在待機狀態下,按 <
預熱模式圖示閃爍,01是蒸氣模式, 功能
(
如下
)
2. 此時自動進入烹調溫度的設置;按 認預設溫 100°C 的設定 ( 如下 )
3. 設置完成,開始預熱。( 如下 )
22
操作方法說明
I) 蒸氣預熱模式
W3MS450_18Jan2022_OL.indd 23W3MS450_18Jan2022_OL.indd 23 18/1/2023 上午12:0718/1/2023 上午12:07

Table of Contents

Related product manuals