EasyManua.ls Logo

Wolf FGB-35 - Page 90

Wolf FGB-35
104 pages
Print Icon
To Next Page IconTo Next Page
To Next Page IconTo Next Page
To Previous Page IconTo Previous Page
To Previous Page IconTo Previous Page
Loading...
90
3064458_201811
Notifyyourlocaluegasinspectorpriortoinstallation.
C33x
4
>20
>30
5
C93x balanced ue in
a shaft DN80
C33x balanced ue in
a shaft DN80/125
B33 open ue in
a shaft DN80
C93x balanced ue
system DN80/185
horizontal and DN80
vertical
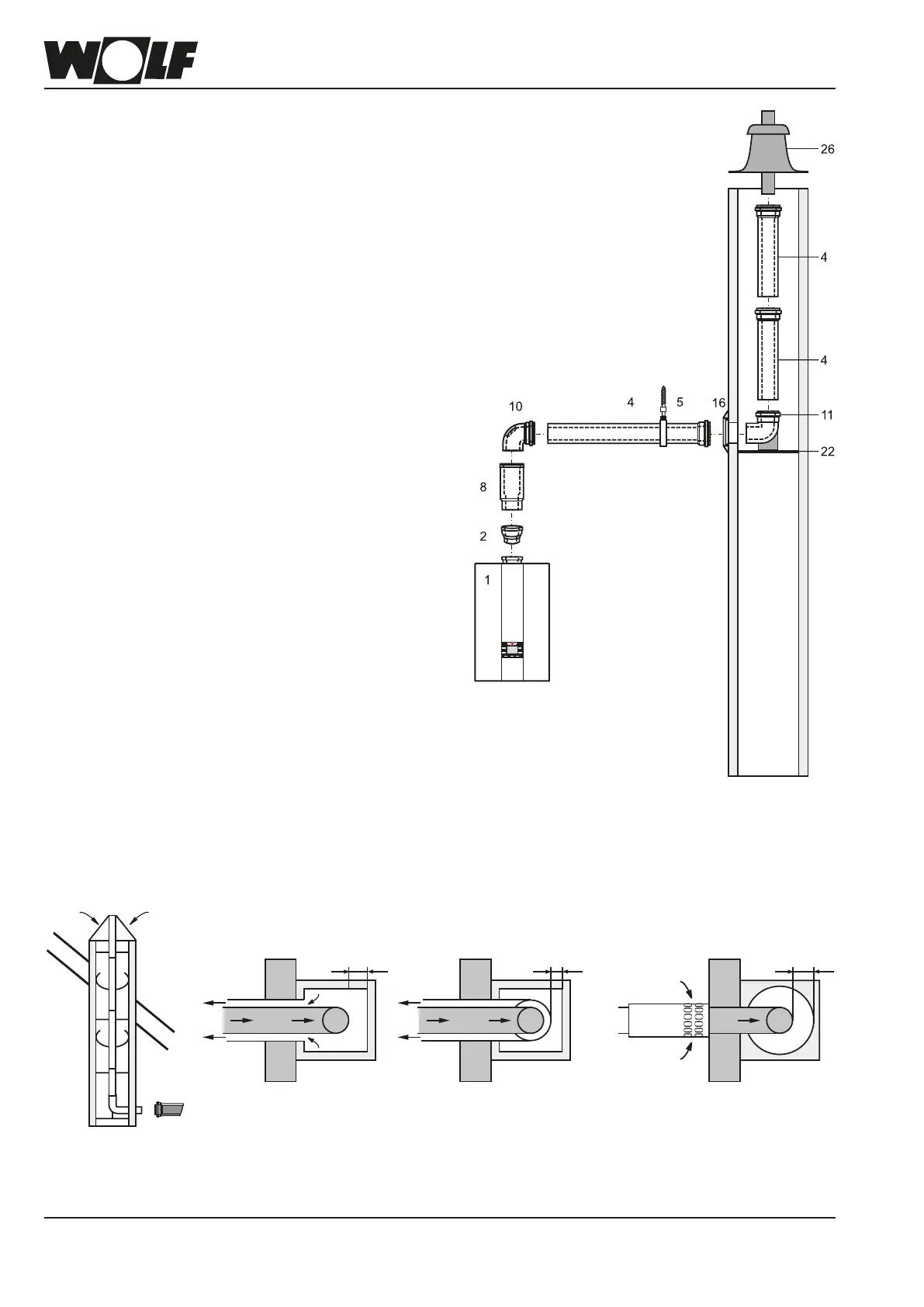
Connectiontoaconcentricbalancedueinsideashaft(examples)DN80/125,C33x
Connectiontoaueinsideashaft,C93x
1 Gas condensing boiler
2 Adaptor DN60/100 to DN80/125
4 BalancedueDN80/125
500 mm
1000 mm
2000 mm
5 Spacer bracket
8 Separator
(slide coupling) if required
10 Inspection bend 87° DN 80/125
11 Support bend 87° DN80/125
16 Pipe collar
22 Support rail
26 Shaft cover with
UV resistant terminal
31.Technicalinformation,balancedue

Related product manuals