EasyManua.ls Logo

Xtreme TX91 - Battery Pack Rear Panel View

Xtreme TX91
38 pages
Print Icon
To Next Page IconTo Next Page
To Next Page IconTo Next Page
To Previous Page IconTo Previous Page
To Previous Page IconTo Previous Page
Loading...
Xtreme Power Conversion Corporaon
TX91 3.8- 10kVA Users Manual
Page 9
Uninterrupble Power Supply
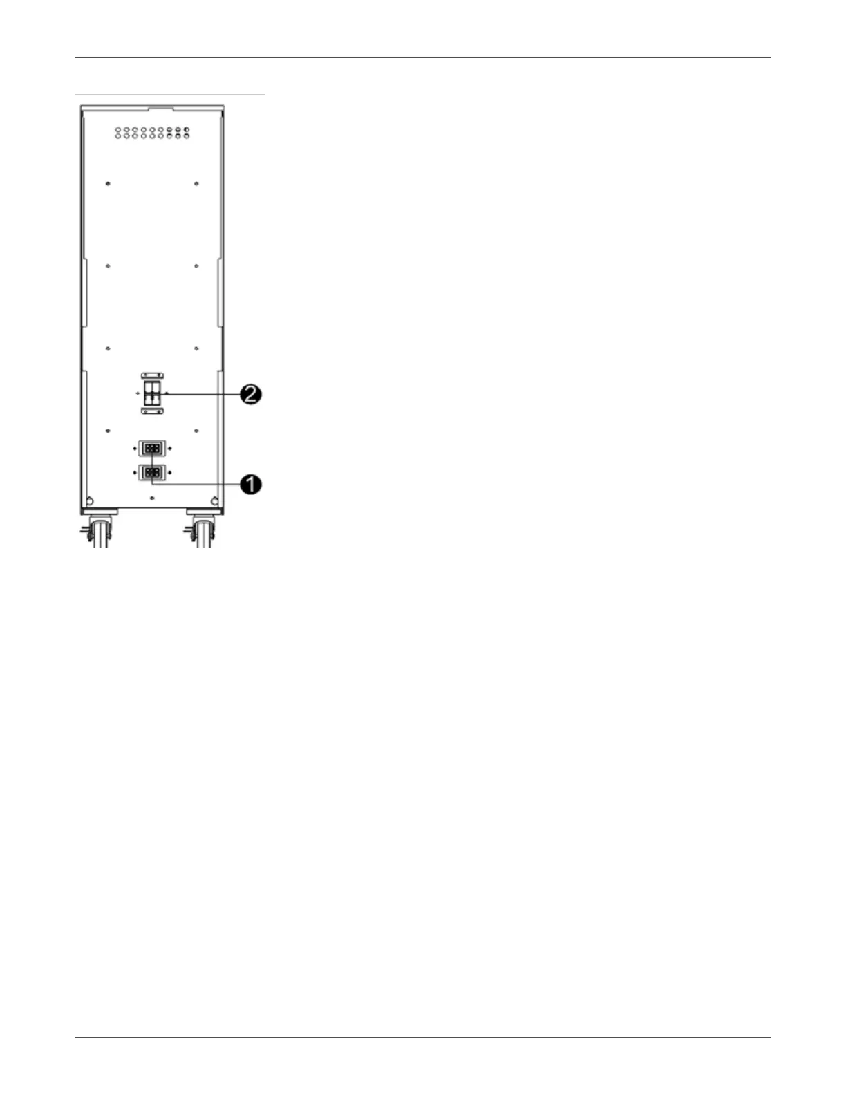
2.3 Baery Pack Rear Panel View
TX91-BP20/BP40/BP60 baery pack
Figure 2-4
1. DC connector: connects to either UPS or 2nd baery pack.
2. DC breaker: Baery over-current protecon breaker.

Related product manuals