EasyManua.ls Logo

Yamato SM310 - Special Program Features; Program MODE

Yamato SM310
47 pages
Print Icon
To Next Page IconTo Next Page
To Next Page IconTo Next Page
To Previous Page IconTo Previous Page
To Previous Page IconTo Previous Page
Loading...
27
Program “MODE”
Special Program Features
Buzzer
Signal on - buzzer at the end of a cycle
Signal off - no sound alert at the end of a cycle prior to or during operation.
◆You may select the “Signal on/off”.
Selection of “signal on/off”
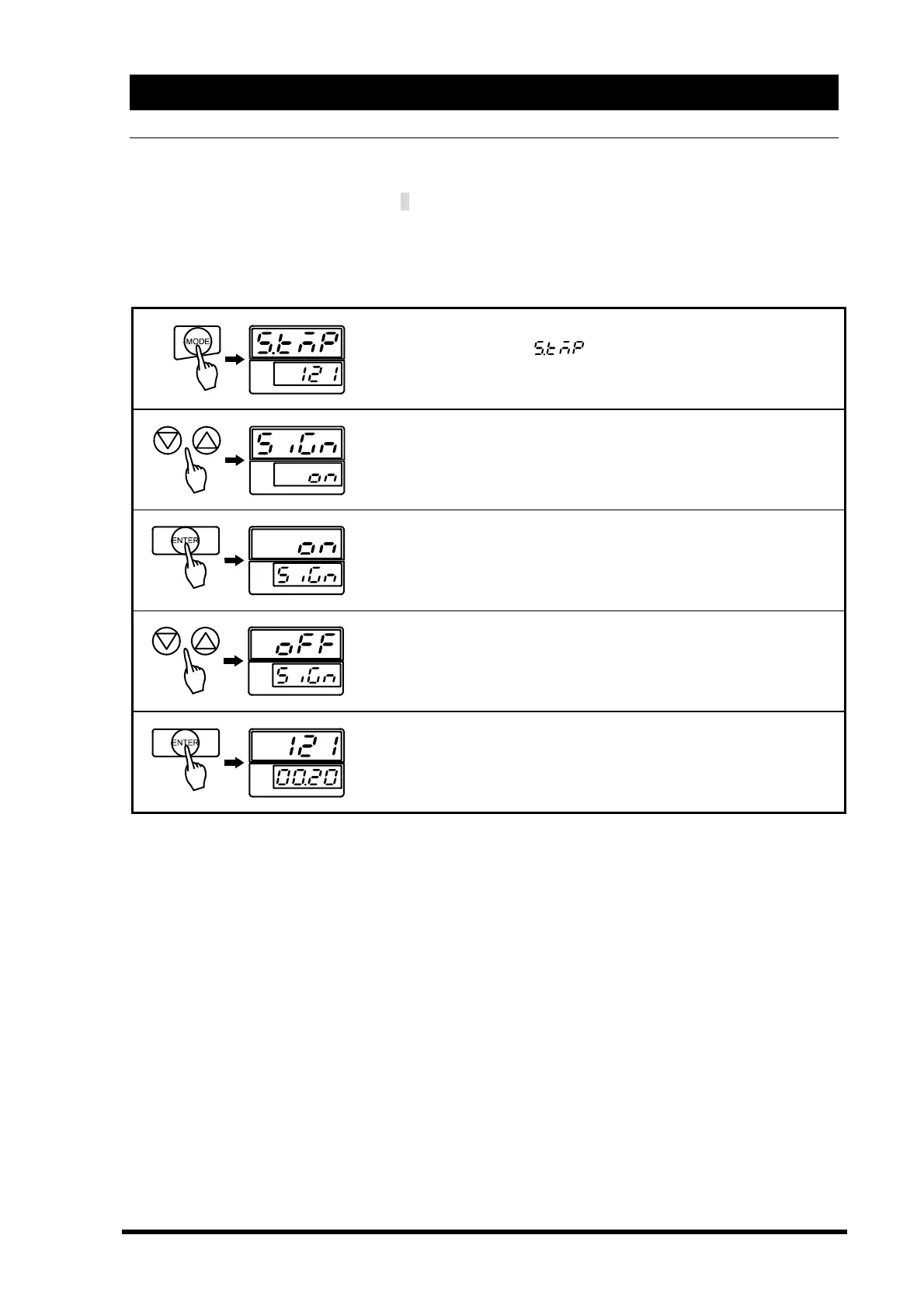
Push the “MODE” key.
The main display blinks
, and the sub display blinks
sterilization temperature.
Push either the▽△keys to search the panel display(illustrated on
left) to the desired setting..
Push the “ENTER” key.
The panel display changes places and the setting can be changed.
Push either ▽△keys to display your selection.
Push the “ENTER” key.
The change on signal is fixed, and the panel display returns to stand
by.

Related product manuals