EasyManua.ls Logo

YANGZHOU SUPER MACHINE TOOL CD6240 - Electrical Controls

YANGZHOU SUPER MACHINE TOOL CD6240
84 pages
Print Icon
To Next Page IconTo Next Page
To Next Page IconTo Next Page
To Previous Page IconTo Previous Page
To Previous Page IconTo Previous Page
Loading...
25
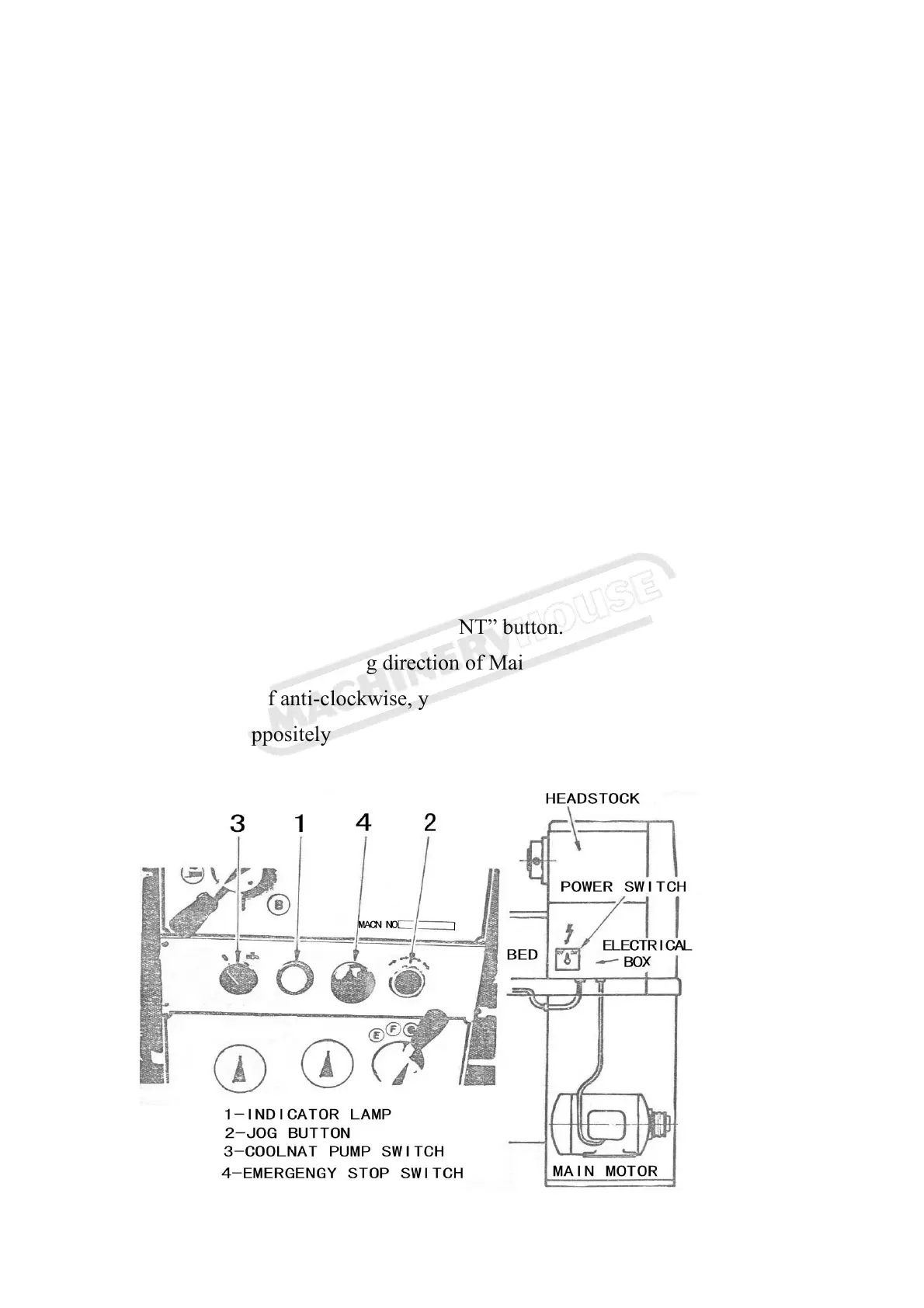
11. Electrical Controls
The power switches are fitted on the face of electrical box in back of
the bed and below the headstock. Except the main switch, all electrical
controls are fitted in the front of the headstock.
1.Move the power switch set at ON position then the indicator lamp
glows.
2.Press the GREEN button. The main drive motor can be running
with a moment. (With the main motor rotation lever is set in the neutral
position.)
3.Coolant pump ON/OFF push button.
4.Press the RED button to stop the main motor and coolant pump.
Check the rotating direction of spindle after wiring:
1. Turn on the power switch.
2. Slightly push “INTREMITENT” button.
3. Look at the rotating direction of Main Spindle from Tailstock.
4.If it is of anti-clockwise, you’ve got a right wiring.
5.If oppositely, exchange any of two wires among R”,“S”,“T”
terminals.
Fig.10
04/03/2020
Instructions Manual for CL-38 (L190)
25