EasyManua.ls Logo

Yanmar SV26 - Commands and Switches

Yanmar SV26
205 pages
Print Icon
To Next Page IconTo Next Page
To Next Page IconTo Next Page
To Previous Page IconTo Previous Page
To Previous Page IconTo Previous Page
Loading...
4 Identification of important parts
13
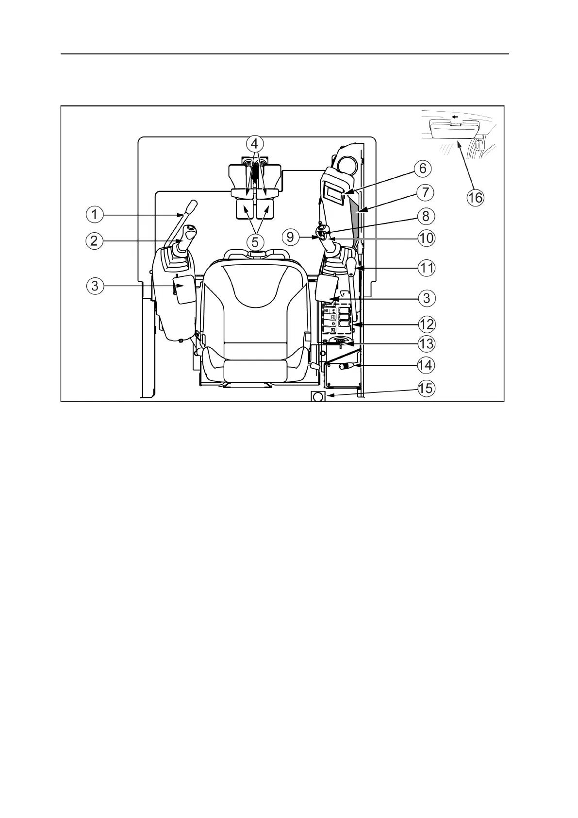
4.2 Commands and switches
1= Locking lever
2= Left command lever
3= Armrest
4= Slide movement levers
5= Side movement pedals
6= Operator display station
7= Glove-box
8= 3rd hydraulic circuit control
9= Horn
10= Right command lever
11= Blade lever
12= Control panel
13= Start key
14 = Throttle lever
15 = Cup holder
16= Interior lighting switch ( for cab )

Table of Contents

Related product manuals