10-10
IM 01F06A00-01E
10. EXPLOSION PROTECTED TYPE INSTRUMENT
10.4.2 Wiring
• Explosion proof
WARNING
• All wiring shall comply with Canadian Electrical
Code Part I and Local Electrical Codes.
• In Hazardous locations, wiring shall be in
conduit as shown in the figure.
•A SEAL SHALL BE INSTALLED WITHIN 50cm
OF THE ENCLOSURE.
• When the equipment is installed in Division 2,
“FACTORY SEALED, CONDUIT SEAL NOT
REQUIRED”.
10.4.3 Operation
• Explosion proof
WARNING
• Note a warning label worded as follows.
Warning: OPEN CIRCUIT BEFORE REMOV-
ING COVER.
• Take care not to generate mechanical spark
when access to the instrument and peripheral
devices in hazardous locations.
10.4.4 Maintenance and Repair
WARNING
• The instrument modification or part replace-
ments by other than authorized representatives
of Yokogawa Electric Corporation are prohibited
and will void CSA Certification.
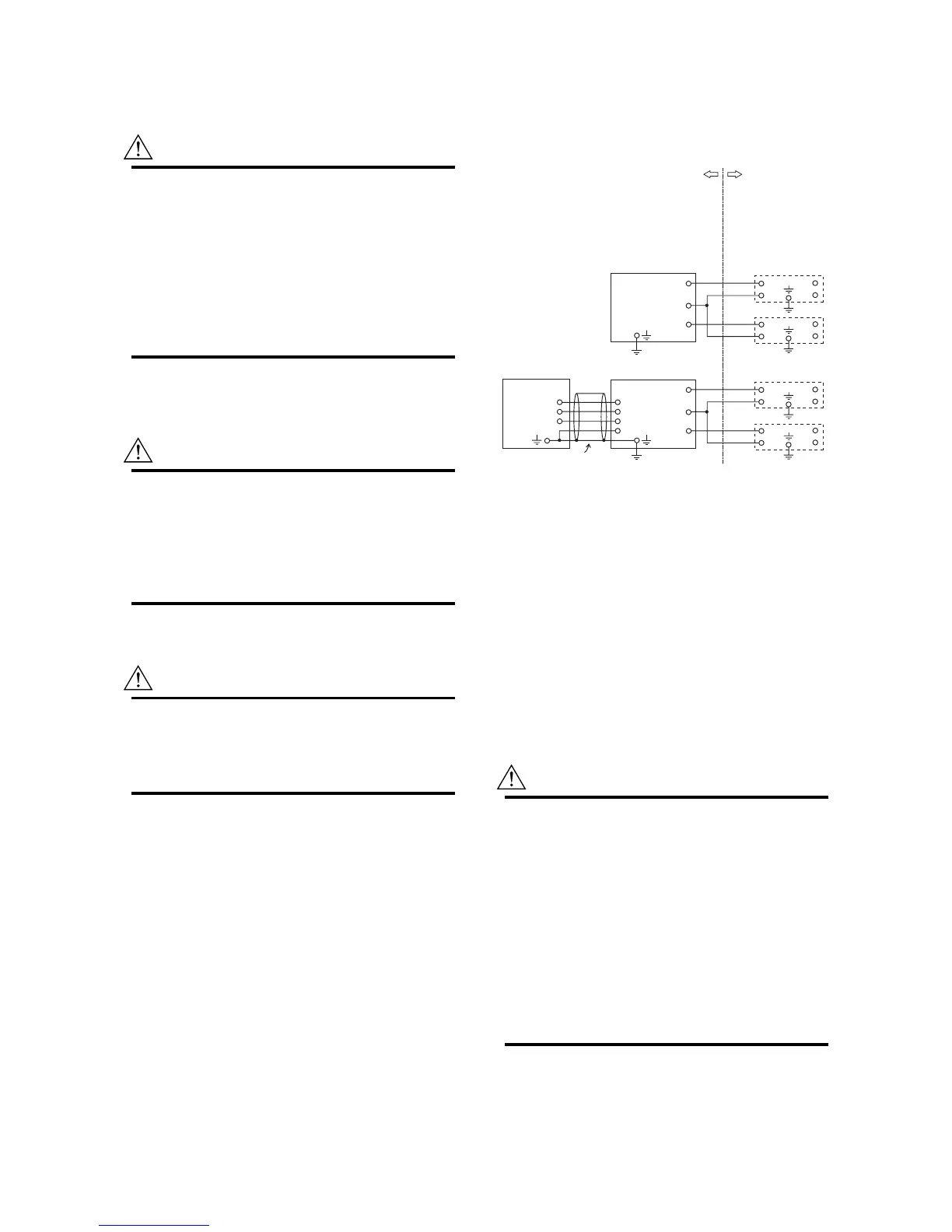
10.4.5 Installation Diagram Intrinsically
Safe (and Note)
Intrinsically safe
[Remote type]
DYA (converter)
SUPPLY
PULSE
A
B
T (*1)
C
A
B
T
DY (flowmeter)
SUPPLY
PULSE
Safety barriers
Safety barriers
[Integral type]
DY-N (flowmeter)
Hazardous Location
Group IIC, Zone 0
Class I, II, III, Division 1,
Groups A, B, C, D, E, F and G
Non Hazardous
Location
DYC: Signal cable
(*1) Wire for T terminal
With temperature sensor type : installed
Without temperature sensor type: not installed
F100401_1.EPS
Electrical parameters of vortex flowmeter (DY) and vortex flow
converter (DYA).
Ui (Vmax)=30 V Ii (Imax)=165 mA Pi (Pmax)=0.9W
Ci=12 nF Li=0.15 mH
Installation requirements between flowmeter, converter and
Safety Barrier
Uo Ui Io Ii Po Pi Co Ci+Ccable
Lo Li+Lcable
Voc Vmax Isc Imax Ca Ci+Ccable
La Li+Lcable
Uo, Io, Po, Co, Lo, Voc, Isc, Ca and La are parameters of
barrier.
WARNING
• In any safety barrier used output current must
be limited by a resistor ‘R’ such that Io=Uo/R or
Isc=Voc/R.
• The safety barrier must be CSA certified.
• Input voltage of the safety barrier must be less
than 250Vrms/Vdc.
• Installation should be in accordance with
Canadian Electrical Code Part I.
• Dust-tight conduit seal must be used when
installed in class II and III environments.
• Do not alter drawing without authorization from
CSA.