EasyManua.ls Logo

YOKOGAWA DY050

YOKOGAWA DY050
138 pages
To Next Page IconTo Next Page
To Next Page IconTo Next Page
To Previous Page IconTo Previous Page
To Previous Page IconTo Previous Page
Loading...
4-6
IM 01F06A00-01E
4. BASIC OPERATING PROCEDURES
4.4 Setting Mode
The setting mode is used for checking parameters and
rewriting data. The following is an overview of the setting
mode.
NOTE
• Refer to 5.3 Parameter List and 5.4 Parameter
description for information on how to change
setting.
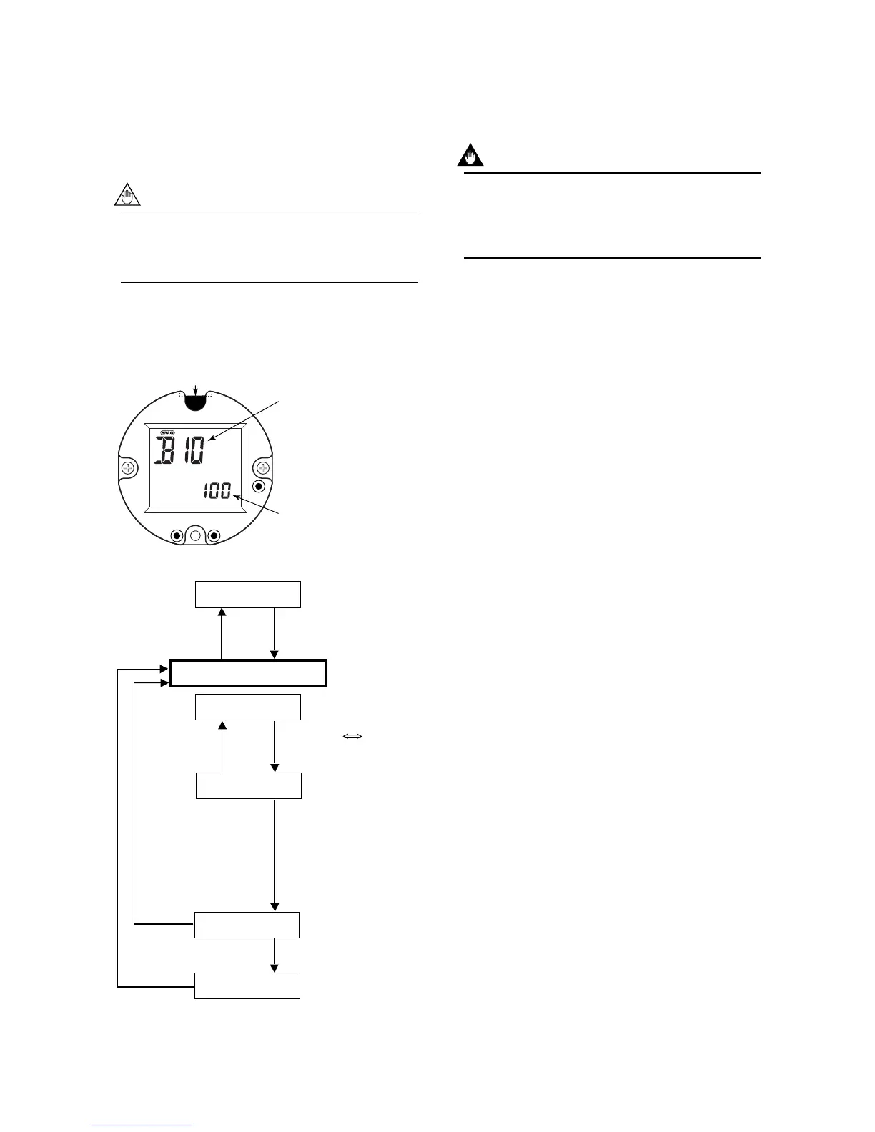
4.4.1 Structure of Setting Mode Display
Simple parameter sheet
IN this sheet, a setting flow chart and the parameter list
required to operate digitalYEWFLO is indicated.
SET
INCSHIFT
F040401.EPS
Item number
Change item number using
“SHIFT” key and “INC”key.
Data number
Change the data number
using “SHIFT” key and
“INC” key.
SET
Flowrate Display Mode
Parameter Setting Mode
Select Item
Set Data
Check Setting Data
Fix Setting Data
SHIFT+SET
SET
SHIFT+SET
SET
SET
SHIFT or INC
SHIFT : Menu
Item Number
INC : Inc. Menu / Item Number
INC : Inc. Data Number
Select Type
Numeric Value Setting Type
SHIFT : Move Cursor
INC : Inc. Numeric Value
F040401_1.EPS
Figure 4.3 Indicator Construction and Parameter Setting
Procedure
When completing setting, press “SHIFT” key and “SET”
key simultaneously. The mode move to the “display
mode”.
IMPORTANT
After setting a parameter, keep the power on for at
least 30 seconds.
If the power of flowmeter is turned off, a parameter
setting is released.

Table of Contents

Related product manuals