EasyManua.ls Logo

YOKOGAWA DY050

YOKOGAWA DY050
138 pages
To Next Page IconTo Next Page
To Next Page IconTo Next Page
To Previous Page IconTo Previous Page
To Previous Page IconTo Previous Page
Loading...
7-5
IM 01F06A00-01E
7. MAINTENANCE
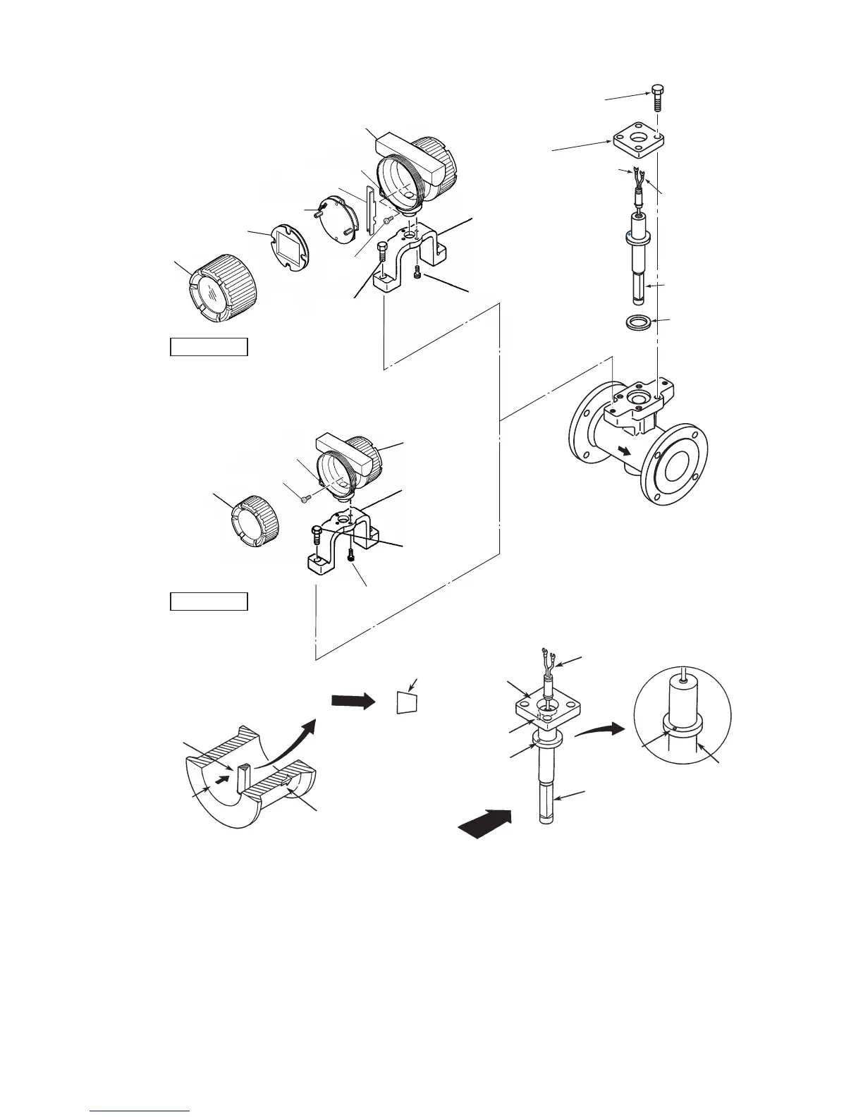
Integral Type
Remote Type
F070501.EPS
Color Wire
Red
White
A
B
Vortex shedder
Mounting Bolt
Vortex shedder
Mounting Block
Bracket
Converter
Mounting Bolt
Leadwire
Vortex Shedder
Assembly
Vortex Shedder
Assembly
Gasket
Amplifier Unit
Locking
Screw
Locking
Screw
Clamp
Shielded Cover
Converter Case
Indicator
Converter Cover
Bracket
Mounting
Bolt
Terminal Box
Bracket
Bracket
Mounting
Bolt
Allen Bolt
Terminal
Box Cover
Flow direction
Flow direction
Flow Direction Arrow
Vortex Shedder
Assembly
Direction
of Flow
Leadwire
Vortex Shedder
Mounting Block
Guide Pin Hole
Pin
Guide Pin Hole
Vortex Shedder
Assembly
Vortex Shedder
Assembly
*
Clamp
Figure 7.3 Disassembling and Reassembling the Vortex Shedder Assembly

Table of Contents

Related product manuals